授权公布号:CN209943442U
一种新型张力调节装置
失效
申请
2019-01-24
申请公布
1970-01-01
授权
2020-01-14
预估到期
2029-01-24
| 申请号 | CN201920121797.9 |
| 申请日 | 2019-01-24 |
| 授权公布号 | CN209943442U |
| 授权公告日 | 2020-01-14 |
| 分类号 | F16H7/08 |
| 分类 | 工程元件或部件;为产生和保持机器或设备的有效运行的一般措施;一般绝热; |
| 申请人名称 | 陕西延长石油西北橡胶有限责任公司 |
| 申请人地址 | 陕西省咸阳市秦都区西华路一号院内 |
专利法律状态
2020-01-14
授权
状态信息
授权
摘要
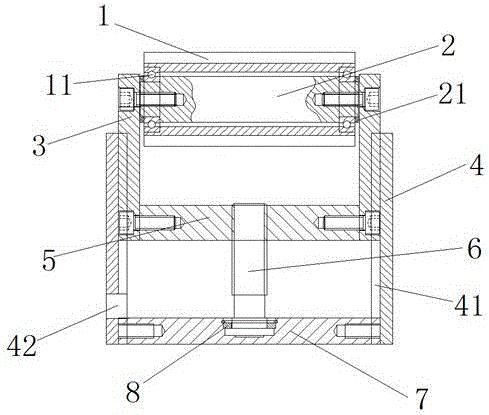
本实用新型提供了一种新型张力调节装置,用于调节牵引机的履带式皮带的张力,滚动结构与皮带内侧连接,推动结构与滚动结构连接;辊轮套设在辊轴上,辊轴的两端分别与滑动板连接;推动结构包括底板、调节螺杆与升降底板,升降底板与滑动板连接,调节螺杆与底板连接,调节螺杆与升降底板连接,调节螺杆相对底板进行转动时,调节螺杆驱动升降底板靠近或远离底板;还包括固定板,固定板设有滑槽,滑动板嵌入滑槽,固定板与底板连接,升降底板相对底板移动时,滑动板在滑槽中只产生与升降底板移动方向相同方向的移动。通过上述方案,通过设计在皮带内侧的滚动结构与推动结构,调节螺杆推动升降底板来调节辊轮对皮带的外推程度来控制皮带的张力。


