授权公布号:CN214671961U
一种消防专用双阻燃型电力电缆
有效
申请
2021-04-22
申请公布
1970-01-01
授权
2021-11-09
预估到期
2031-04-22
| 申请号 | CN202120841487.1 |
| 申请日 | 2021-04-22 |
| 授权公布号 | CN214671961U |
| 授权公告日 | 2021-11-09 |
| 分类号 | H01B7/40;H01B7/17;B65D63/10 |
| 分类 | 基本电气元件; |
| 申请人名称 | 深圳市奔达康电缆股份有限公司 |
| 申请人地址 | 广东省深圳市坪山新区大工业区翠景路58号1栋 |
专利法律状态
2021-11-09
授权
状态信息
授权
摘要
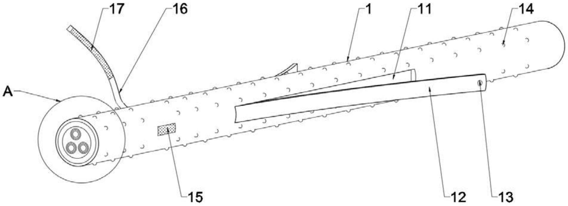
本实用新型公开了一种消防专用双阻燃型电力电缆,包括电缆本体,所述电缆本体包括外层、中层和内层,外层外表面对称开设隐藏槽,隐藏槽内设置橡胶条,且橡胶条一端固定连接橡胶层,橡胶条另一端内部开设拿取孔,外层外表面安装缠绕带,缠绕带靠近橡胶层一端设置魔术贴一,外层外表面镶嵌魔术贴二。本实用新型使用时,通过拿取孔将两橡胶条从隐藏槽内抠出来,可以将两个橡胶条系在衣服上,也可以先将电缆在腰部缠绕一圈,然后再将橡胶条系紧,使电缆一部分盘在腰间,在进行拖拽的时候不影响手里机器的使用。


