授权公布号:CN216084575U
一种变压器升高座及变压器
有效
申请
2021-08-02
申请公布
1970-01-01
授权
2022-03-18
预估到期
2031-08-02
| 申请号 | CN202121782305.4 |
| 申请日 | 2021-08-02 |
| 授权公布号 | CN216084575U |
| 授权公告日 | 2022-03-18 |
| 分类号 | H01F27/40;H01F27/32;H01F27/06;H01F27/02;H01F27/14 |
| 分类 | 基本电气元件; |
| 申请人名称 | 特变电工股份有限公司 |
| 申请人地址 | 新疆维吾尔自治区昌吉市北京南路189号 |
专利法律状态
2022-03-18
授权
状态信息
授权
摘要
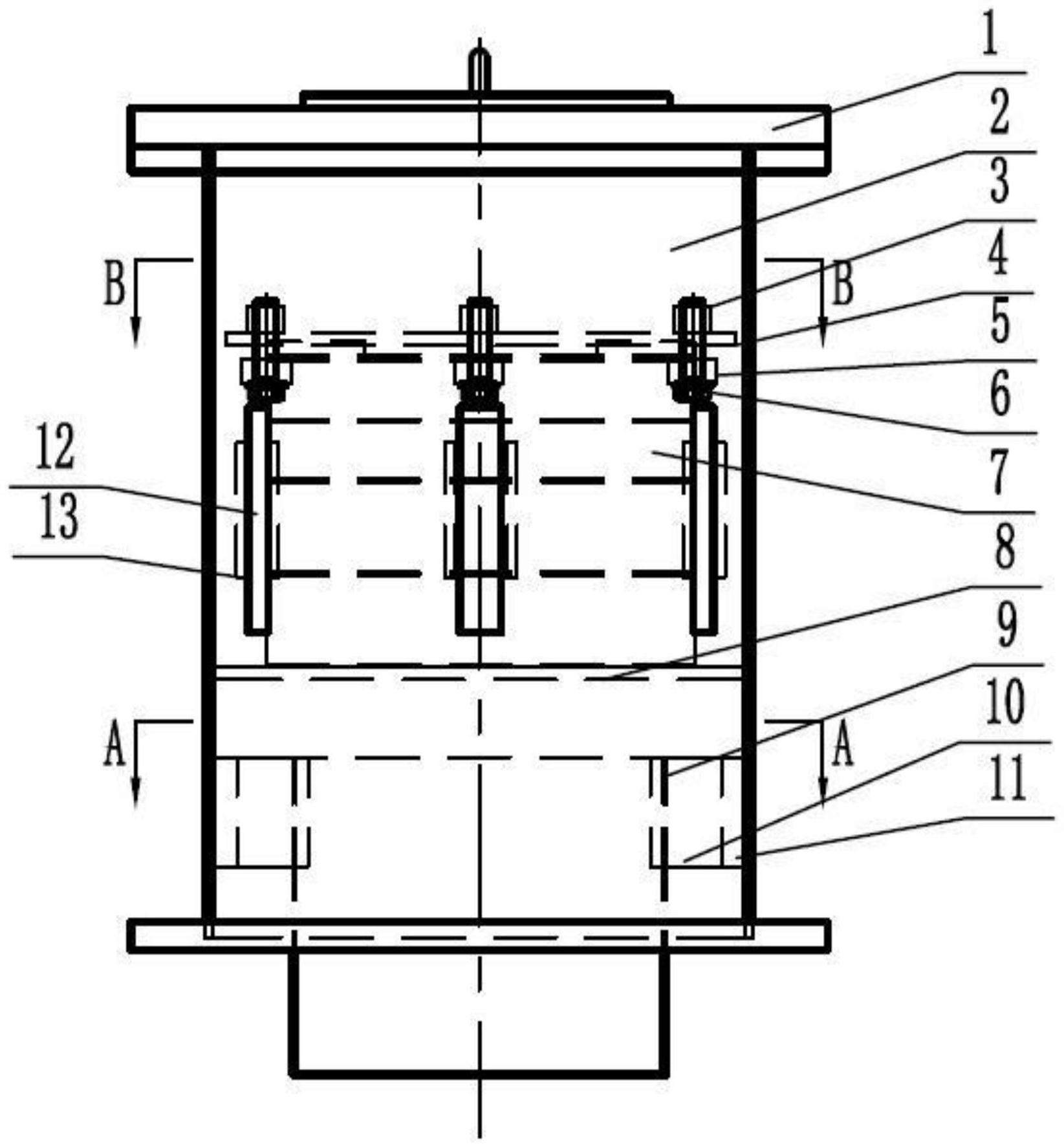
本实用新型公开了一种变压器升高座,包括升高座本体、套管和绝缘筒,所述升高座本体包括升高座壳体;所述套管贯穿所述升高座壳体,所述套管设置有均压件的一端设置在所述升高座壳体的外部,且位于与所述升高座壳体相连的变压器本体内;所述绝缘筒贯穿所述升高座壳体的底部,部分所述绝缘筒套设在所述套管的均压件外部,且位于所述变压器本体内。本实用新型还公开了一种包含所述变压器升高座的变压器。本实用新型的变压器升高座的高度降低,并能够降低变压器的整体高度,且结构简单,安装方便。


