授权公布号:CN215185700U
一种引线夹持装置、引线结构及油浸式变压器
有效
申请
2021-02-02
申请公布
1970-01-01
授权
2021-12-14
预估到期
2031-02-02
| 申请号 | CN202120291667.7 |
| 申请日 | 2021-02-02 |
| 授权公布号 | CN215185700U |
| 授权公告日 | 2021-12-14 |
| 分类号 | H02G3/30 |
| 分类 | 发电、变电或配电; |
| 申请人名称 | 特变电工股份有限公司 |
| 申请人地址 | 新疆维吾尔自治区昌吉市北京南路189号 |
专利法律状态
2021-12-14
授权
状态信息
授权
摘要
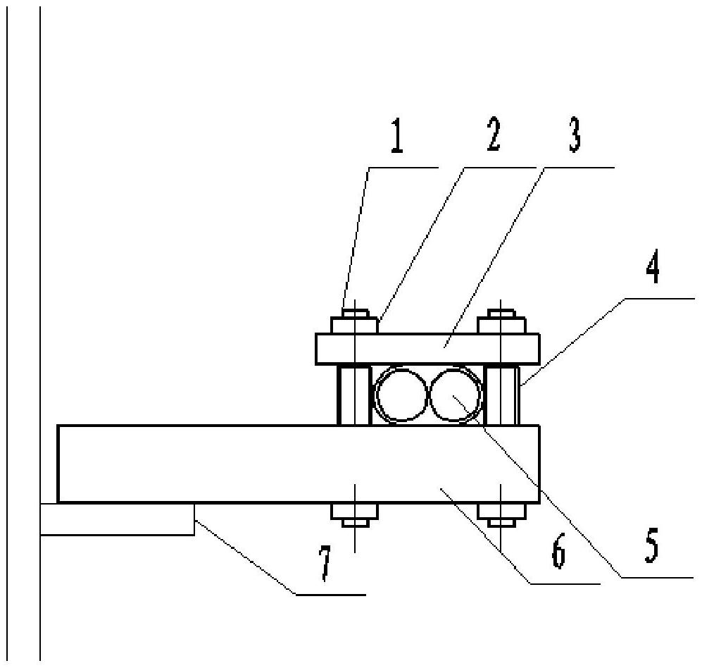
本实用新型公开一种引线夹持装置,包括引线夹板、木件和螺纹组件;所述引线夹板与所述木件平行设置;所述螺纹组件采用两组,每组所述螺纹组件包括螺杆和螺母,所述螺杆连接在所述引线夹板和所述木件之间,所述引线夹板、所述木件、以及两组螺纹组件中的两个所述螺杆围合为一个引线框,所述引线框用于夹持引线。本实用新型还公开了一种包含所述引线夹持装置的引线结构以及包含所述引线结构的油浸式变压器。所述引线夹持装置增加了绝缘材料的利用率,并提高了引线夹持装置的加工效率,以及引线的装配效率。


