授权公布号:CN115064721B
风冷燃料单电池组件及风冷燃料电池电堆结构
有效
申请
2022-06-08
申请公布
2022-09-16
授权
2023-12-29
预估到期
2042-06-08
| 申请号 | CN202210652933.3 |
| 申请日 | 2022-06-08 |
| 申请公布号 | CN115064721A |
| 申请公布日 | 2022-09-16 |
| 授权公布号 | CN115064721B |
| 授权公告日 | 2023-12-29 |
| 分类号 | H01M8/0265;H01M8/0267;H01M8/04014 |
| 分类 | 基本电气元件; |
| 申请人名称 | 上海电气集团股份有限公司 |
| 申请人地址 | 上海市长宁区兴义路8号30层 |
专利法律状态
2023-12-29
授权
状态信息
授权
2022-10-04
实质审查的生效
状态信息
实质审查的生效;IPC(主分类):H01M8/0265;申请日:20220608
2022-09-16
公布
状态信息
公布
摘要
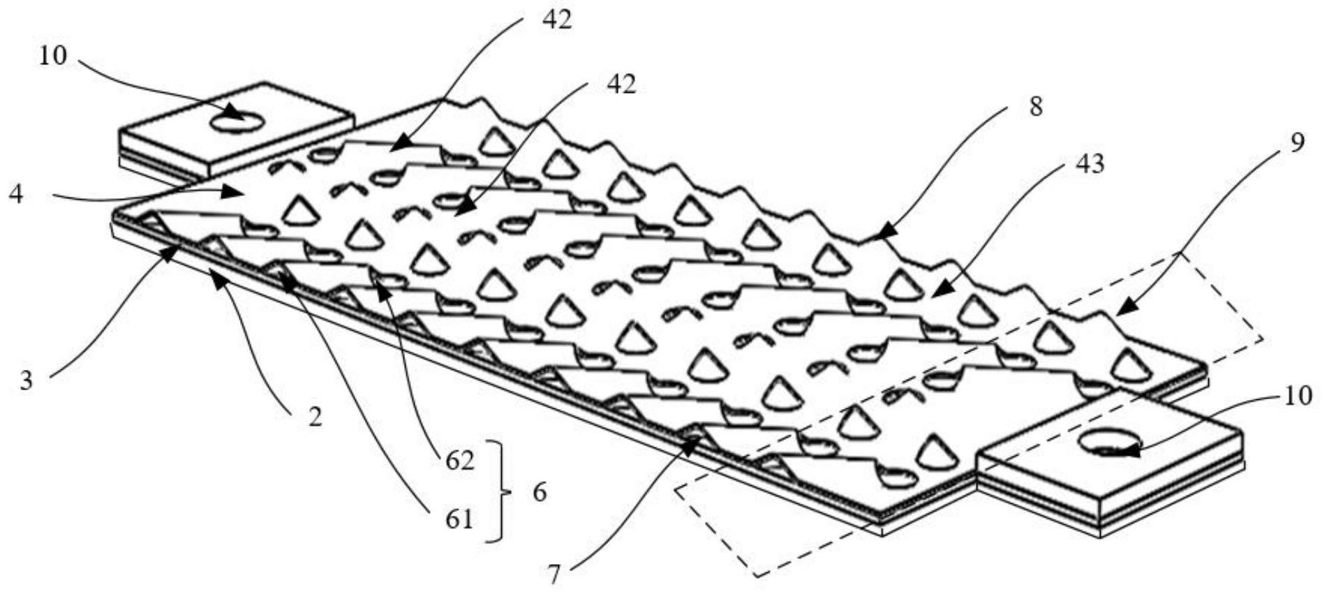
本发明公开了一种风冷燃料单电池组件及风冷燃料电池电堆结构,包括阳极板、膜电极以及流道板,膜电极与阳极板相贴合,流道板的反应面与膜电极贴合,流道板形成若干向上的凸起单元,凸起单元与膜电极之间形成短流道,流道板的上表面具有冷却面,短流道具有连通至冷却面的短流道入口和/或短流道出口。流道板形成若干向上的凸起单元,凸起单元与膜电极之间形成短流道,短流道具有连通至所述冷却面的短流道入口和/或短流道出口,即可以通过凸起单元与膜电极之间形成的短流道连通至冷却面的设计使得冷却面的空气和反应面的空气可以互相混合冷却,提高散热效率,提升输出功率。


