授权公布号:CN216542411U
一种用于加工人造石台面边缘的倒角设备
有效
申请
2021-12-17
申请公布
1970-01-01
授权
2022-05-17
预估到期
2031-12-17
| 申请号 | CN202123186104.0 |
| 申请日 | 2021-12-17 |
| 授权公布号 | CN216542411U |
| 授权公告日 | 2022-05-17 |
| 分类号 | B24B9/06;B24B41/06;B24B47/00;B24B47/14;B24B47/16 |
| 分类 | 磨削;抛光; |
| 申请人名称 | 广东必图新材料科技股份有限公司 |
| 申请人地址 | 广东省东莞市道滘镇南阁工业区 |
专利法律状态
2022-05-17
授权
状态信息
授权
摘要
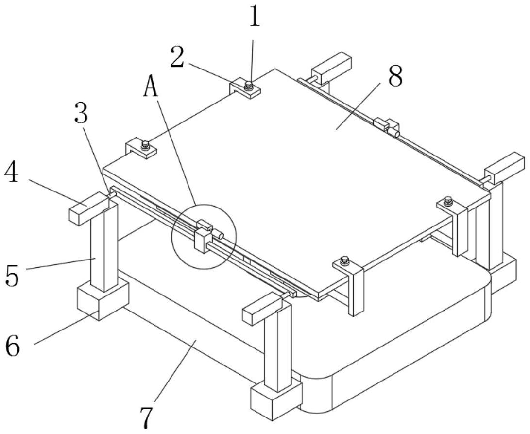
本实用新型公开了一种用于加工人造石台面边缘的倒角设备,涉及石台面加工技术领域。本实用新型包括底板、基台和安装台,基台固定安装在底板的上表面,安装台固定安装在基台的上表面,安装台下表面固定安装有若干第二气缸,第二气缸一端安装有第二伸缩柱,第二伸缩柱一端固定连接有限位板,限位板为“L”形板体结构,安装台上表面放置有石台面,限位板与石台面相夹持。本实用新型通过设置带有限位板的第二气缸,将石台面放置在安装台上,启动第二气缸使得限位板对石台面两端进行夹持固定,再拧紧挤压螺栓施加纵向挤压力,进一步增加固定的稳固性。


