授权公布号:CN206965859U
一种具有揉丝破粒功能的送料装置
有效
申请
2017-04-28
申请公布
1970-01-01
授权
2018-02-06
预估到期
2027-04-28
| 申请号 | CN201720469996.X |
| 申请日 | 2017-04-28 |
| 授权公布号 | CN206965859U |
| 授权公告日 | 2018-02-06 |
| 分类号 | B02C18/14;B02C18/18;B02C21/00;A23N17/00 |
| 分类 | 破碎、磨粉或粉碎;谷物碾磨的预处理; |
| 申请人名称 | 山东润源实业有限公司 |
| 申请人地址 | 山东省聊城市临清市临博路15号 |
专利法律状态
2021-01-08
专利权的保全及其解除
状态信息
专利权的保全及其解除
2018-02-06
授权
状态信息
授权
摘要
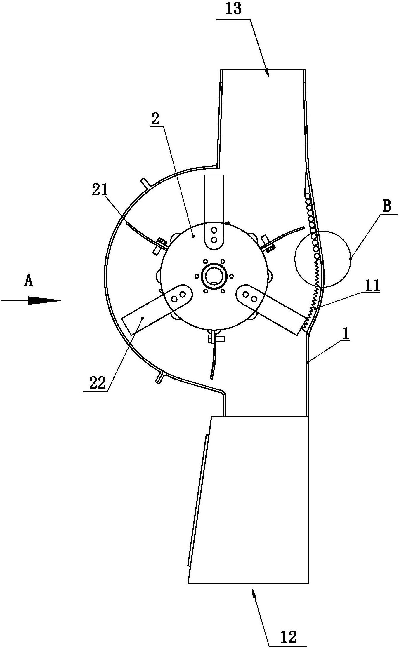
一种具有揉丝破粒功能的送料装置,涉及青饲料作物收割装置技术领域,用于对青饲料进行揉丝破粒的工作。一种具有揉丝破粒功能的送料装置,器特征是,包括送料筒、转轮、抛送叶片、若干的甩刀和若干的锯齿条,所述转轮转动连接在所述送料筒中,所述甩刀和所述抛送叶片分别设在所述转轮的圆周上,所述锯齿条设所述料筒的内壁上,各所述锯齿条的齿牙朝向所述转轮设置,各所述锯齿条沿平行于所述转轮的轴向的方向分布;所述甩刀在随所述转轮做圆周旋转的时,该甩刀的外端从其中两个相邻的锯齿条之间经过;所述抛送叶片的长宽面沿着平行于所述转轮的轴向。有益效果是,可以提高揉丝破碎效果和破粒效果。


