授权公布号:CN217006660U
一种防碎屑飞溅的落球冲击测试机
有效
申请
2021-12-24
申请公布
1970-01-01
授权
2022-07-19
预估到期
2031-12-24
| 申请号 | CN202123316797.0 |
| 申请日 | 2021-12-24 |
| 授权公布号 | CN217006660U |
| 授权公告日 | 2022-07-19 |
| 分类号 | G01N3/02;G01N3/04;G01N3/303 |
| 分类 | 测量;测试; |
| 申请人名称 | 东莞市富家石建材有限公司 |
| 申请人地址 | 广东省东莞市桥头镇禾坑村禾大路8号 |
专利法律状态
2022-07-19
授权
状态信息
授权
摘要
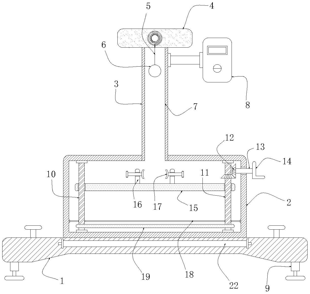
本实用新型公开了一种防碎屑飞溅的落球冲击测试机,包括底座,以及安装在底座上方的加工框,所述底座的底部两侧均设置有支撑腿,且两个所述支撑腿的大小等同,并且两个支撑腿是关于底座的竖向中心线对称设置,还包括:所述底座的长度大于加工框的长度,且加工框的上方连接有连接杆,所述连接杆的右侧上方连接有控制面板。该防碎屑飞溅的落球冲击测试机安装有安装柱、限位夹和第三螺纹杆,利用在两个安装柱的内侧均连接有限位夹,可以很好的方便对检测物进行限位放置,然后转动两个限位夹外侧的第三螺纹杆,可以很好的带动两个限位夹进行左右位置移动,更好的方便对不同体积的检测物进行限位放置。


