授权公布号:CN209402501U
一种通信接收装置以及毫米波接收设备
有效
申请
2019-03-15
申请公布
1970-01-01
授权
2019-09-17
预估到期
2029-03-15
| 申请号 | CN201920339265.2 |
| 申请日 | 2019-03-15 |
| 授权公布号 | CN209402501U |
| 授权公告日 | 2019-09-17 |
| 分类号 | H04B1/08;H05K7/20 |
| 分类 | 电通信技术; |
| 申请人名称 | 华讯方舟科技有限公司 |
| 申请人地址 | 广东省深圳市宝安区西乡街道臣田社区臣田工业区37栋404 |
专利法律状态
2023-08-15
专利申请权、专利权的转移
状态信息
专利权的转移;IPC(主分类):H04B1/08;登记生效日:20230802;变更事项:专利权人;变更前:华讯方舟科技有限公司;变更后:深圳市华讯方舟光电技术有限公司;变更事项:地址;变更前:518000 广东省深圳市宝安区西乡宝田一路臣田工业区第37栋1楼及2楼靠西;变更后:518000 广东省深圳市宝安区西乡街道臣田社区臣田工业区37栋404;变更事项:专利权人;变更前:深圳市太赫兹科技创新研究院有限公司;变更后:深圳市太赫兹科技创新研究院有限公司
2023-05-16
专利权的保全及其解除
状态信息
专利权保全的解除;IPC(主分类):H04B1/08;申请日:20190315;授权公告日:20190917;解除日:20230421
2021-07-30
专利权的保全及其解除
状态信息
专利权的保全;IPC(主分类):H04B1/08;申请日:20190315;授权公告日:20190917;登记生效日:20210630
2019-09-17
授权
状态信息
授权
摘要
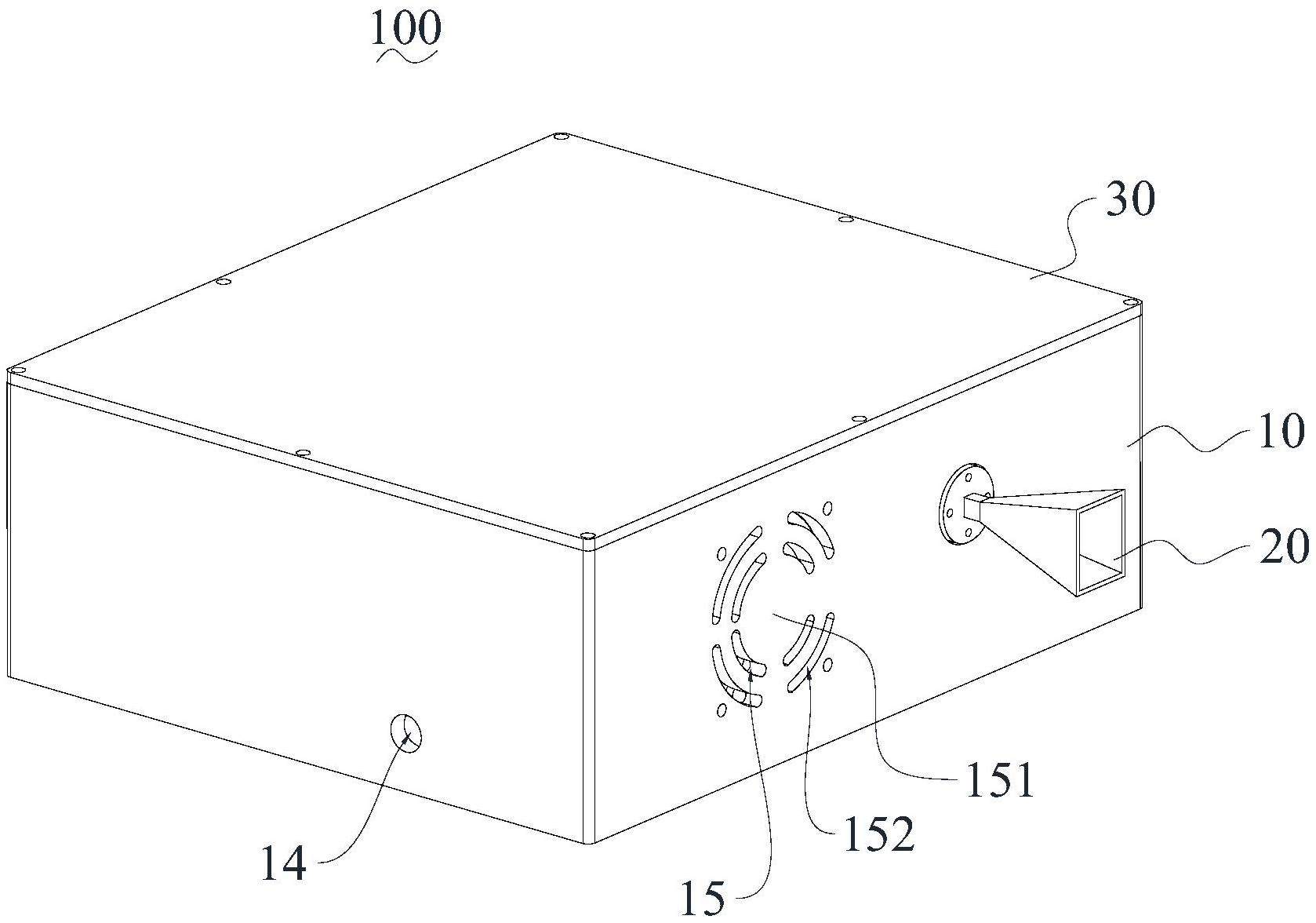
本实用新型涉及无线通信技术领域,尤其涉及一种通信接收装置以及毫米波接收设备。通信接收装置包括:结构壳体,开设有安置腔,结构壳体朝前设置的侧表面开设有连通安置腔的信号输入孔;射频器件,包括信号接收器件和信号处理器件,信号接收器件用于接收外部的电磁波,信号处理器件位于安置腔;散热器件,包括均连接安置腔腔壁的前散热风扇和后散热风扇,结构壳体朝前设置的侧表面上还开设有前散热孔,结构壳体朝后设置的侧表面开设有后散热孔,前散热风扇位于前散热孔处,后散热风扇位于后散热孔处。本实用新型通过前散热风扇和后散热风扇,可以将信号处理器件所产生的热量抽离安置腔,从而提高了射频器件的散热效率。


