授权公布号:CN218318904U
输送机以及X光机
有效
申请
2022-11-10
申请公布
1970-01-01
授权
2023-01-17
预估到期
2032-11-10
| 申请号 | CN202222995656.4 |
| 申请日 | 2022-11-10 |
| 授权公布号 | CN218318904U |
| 授权公告日 | 2023-01-17 |
| 分类号 | B65G21/06;B65G23/44;B65G43/00 |
| 分类 | 输送;包装;贮存;搬运薄的或细丝状材料; |
| 申请人名称 | 上海石田电子衡器有限公司 |
| 申请人地址 | 上海市浦东新区民雪路86号 |
专利法律状态
2023-01-17
授权
状态信息
授权
摘要
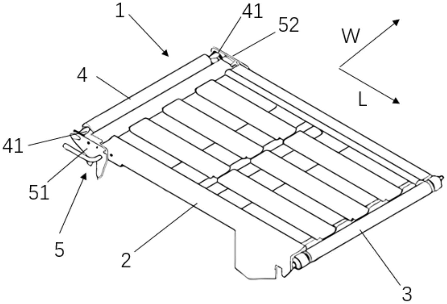
本实用新型涉及输送设备技术领域,具体为一种输送机以及X光机。输送机包括:第一辊以及与第一辊对置的方式设置的第二辊,还包括翻折机构,构成为与第二辊联动而能够将第二辊在翻折状态与非翻折状态之间切换。其中,翻折机构包括连接部,可旋转地连接于框架的另一端;联动部,与连接部一体形成且与第二辊的一端连接。第二辊通过联动部、连接部带动进行旋转,实现在翻折状态与非翻折状态之间的切换,由于第二辊在翻折状态时第一辊与第二辊之间的距离小于在非翻折状态时第一辊与第二辊之间的距离,从而使第二辊在切换状态时传送带丧失或获得张紧状态,进而能够方便地对传送带与输送机进行拆卸或安装,缩短传送带的拆装时间。


