授权公布号:CN218002659U
一种微量天平秤
有效
申请
2022-08-03
申请公布
1970-01-01
授权
2022-12-09
预估到期
2032-08-03
| 申请号 | CN202222032275.6 |
| 申请日 | 2022-08-03 |
| 授权公布号 | CN218002659U |
| 授权公告日 | 2022-12-09 |
| 分类号 | G01G13/02;G01G13/24;G01G23/00 |
| 分类 | 测量;测试; |
| 申请人名称 | 上海大和衡器有限公司 |
| 申请人地址 | 上海市浦东新区合庆镇庆达路368号 |
专利法律状态
2022-12-09
授权
状态信息
授权
摘要
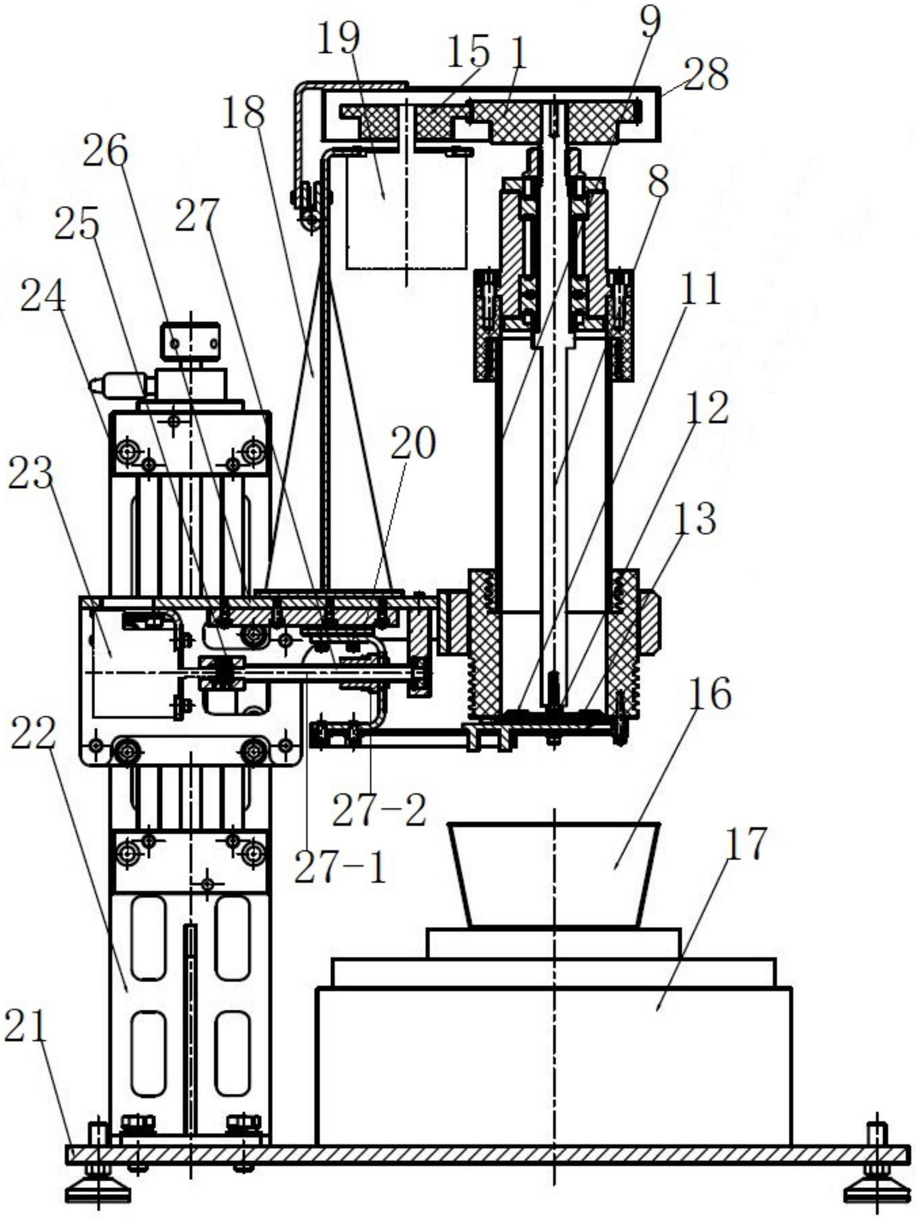
本实用新型提供了一种微量天平秤,所述微量天平秤包括电子天平、接料容器、供料瓶、第一驱动机构和控制机构,所述接料容器置于电子天平上;所述供料瓶包括内置物料的瓶体,瓶体底部设有开口处,开口处对应接料容器,瓶体底部设有用于控制开口处物料下料量的控制装置;所述第一驱动机构驱动控制装置运行;所述电子天平向控制机构反馈接料容器及其内物料的称重信息,控制机构控制第一驱动机构运行。本实用新型解决上述现有技术存在问题一:如何提高对微量天平秤的接料容器进行放料的工作效率和精准度的问题;问题二:如何对微量天平秤的接料容器进行更均匀地放料的问题。


