授权公布号:CN220409129U
变径光伏桩的生产模具
有效
申请
2023-07-11
申请公布
1970-01-01
授权
2024-01-30
预估到期
2033-07-11
| 申请号 | CN202321818198.5 |
| 申请日 | 2023-07-11 |
| 授权公布号 | CN220409129U |
| 授权公告日 | 2024-01-30 |
| 分类号 | B28B7/00 |
| 分类 | 加工水泥、黏土或石料; |
| 申请人名称 | 广东三和管桩股份有限公司 |
| 申请人地址 | 广东省中山市小榄镇同兴东路30号 |
专利法律状态
2024-01-30
授权
状态信息
授权
摘要
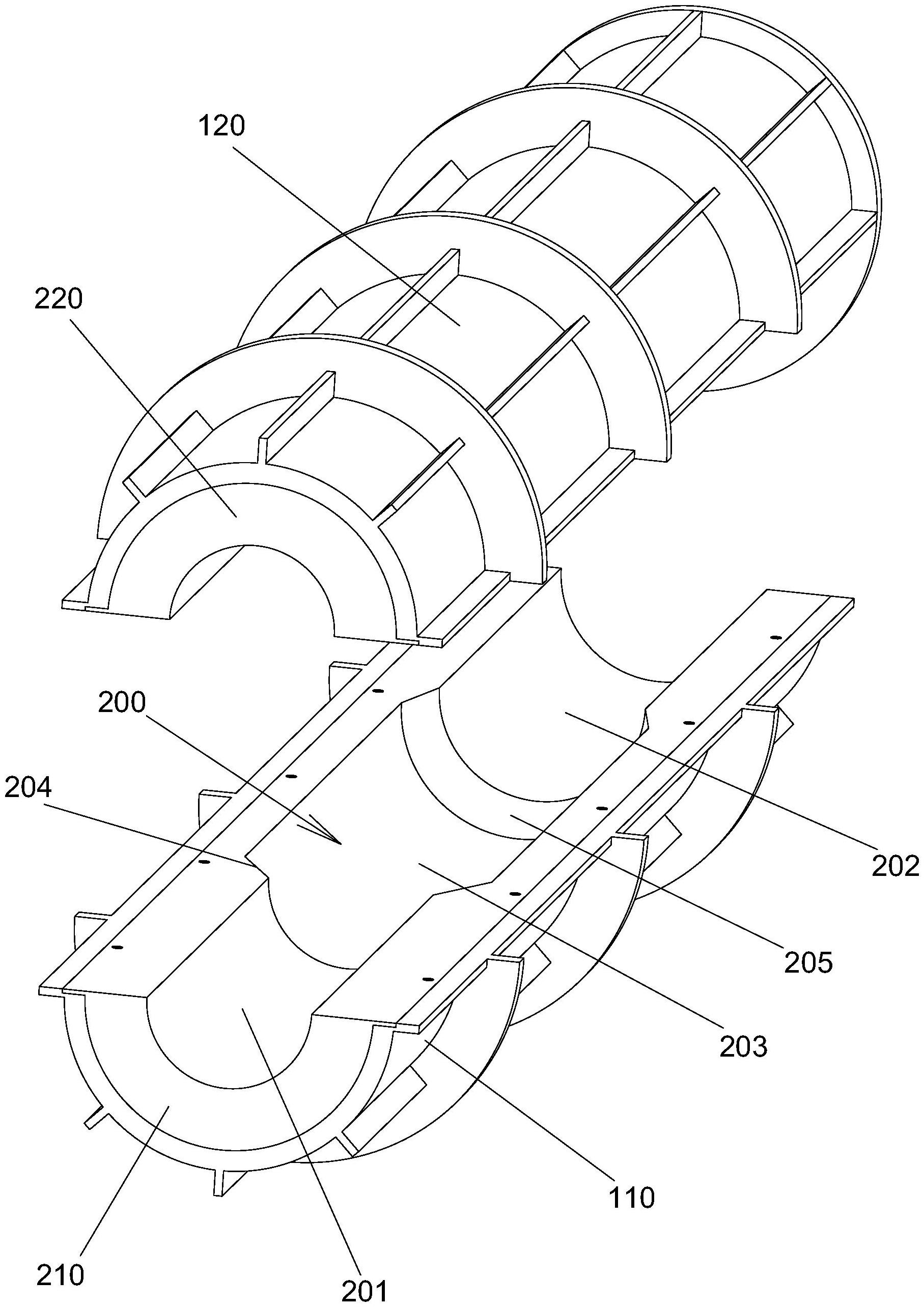
本实用新型公开了一种变径光伏桩的生产模具,包括下模和上模,所述下模内可拆卸式固定有第一内模,所述上模内可拆卸式固定有第二内模;所述第一内模和第二内模均设置有彼此适配的凹槽,当下模和上模合模时,第一内模的凹槽和第二内模的凹槽组合形成成型腔;所述成型腔包括沿其轴向顺次设置的第一连接部、变径部和第二连接部,所述变径部的半径大于第一连接部的半径,也大于第二连接部的半径。本实用新型通过更换内模可以生产多种尺寸的变径光伏桩,其适用性更强。


