授权公布号:CN218365457U
一种用于混凝土管桩模具的脱模剂喷洒系统
有效
申请
2022-09-30
申请公布
1970-01-01
授权
2023-01-24
预估到期
2032-09-30
| 申请号 | CN202222623716.X |
| 申请日 | 2022-09-30 |
| 授权公布号 | CN218365457U |
| 授权公告日 | 2023-01-24 |
| 分类号 | B28B7/38 |
| 分类 | 加工水泥、黏土或石料; |
| 申请人名称 | 广东三和管桩股份有限公司 |
| 申请人地址 | 广东省中山市小榄镇同兴东路30号 |
专利法律状态
2023-01-24
授权
状态信息
授权
摘要
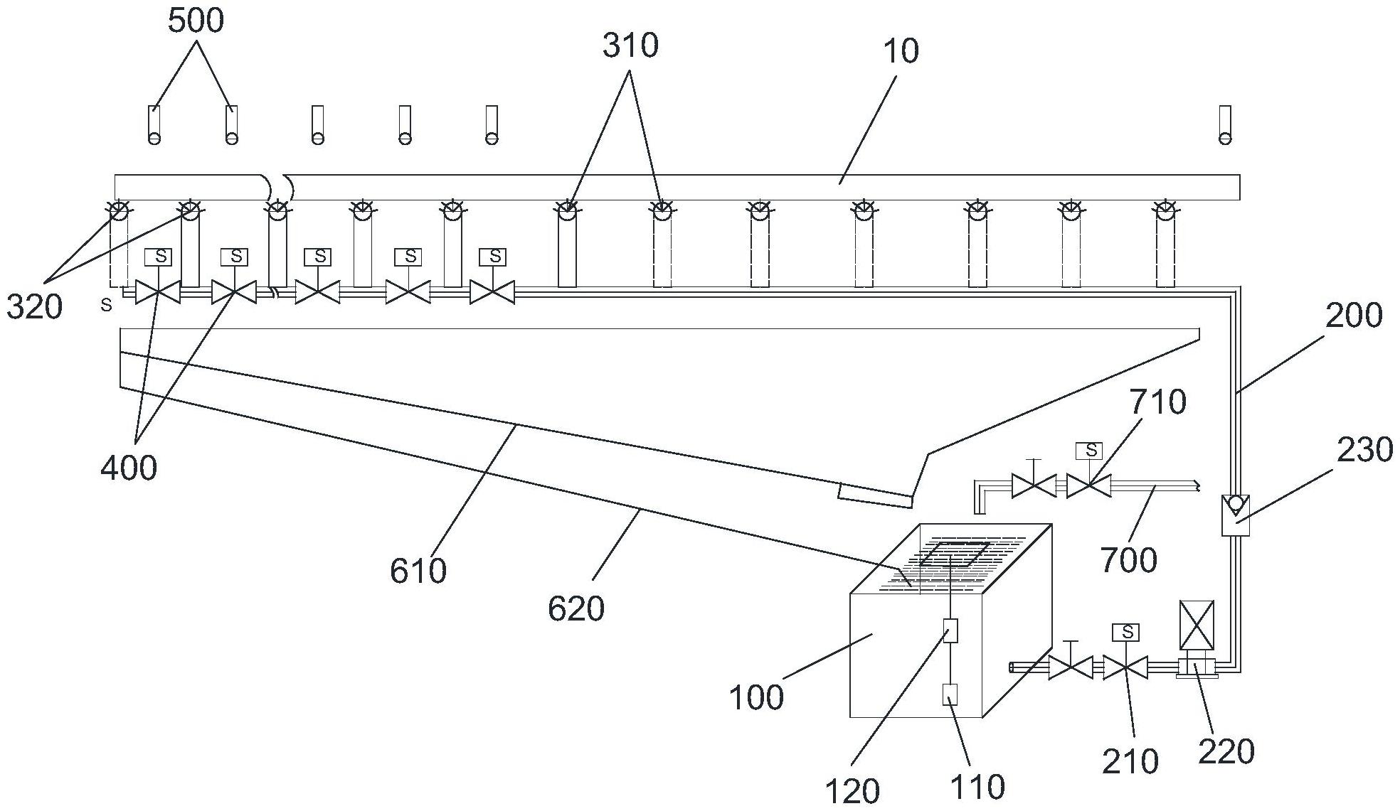
一种用于混凝土管桩模具的脱模剂喷洒系统,包括储液箱、连接管路、第一控制阀、输送泵、多个第一喷嘴、多个第二喷嘴、多个感应器和控制器;储液箱用于装载脱模剂,连接管路与储液箱相连,第一控制阀和输送泵均设置在连接管路中,第一喷嘴和第二喷嘴均与连接管路相连,第一喷嘴和第二喷嘴均设置在模具的下方,且所有第一喷嘴和第二喷嘴均沿模具的长度方向排列,所有第一喷嘴连续相邻排列,所有第二喷嘴也连续相邻排列;相邻第二喷嘴之间的连接管路设置有电磁阀,彼此靠近的第一喷嘴和第二喷嘴之间的连接管路也设置有电磁阀;感应器设置在模具的上方并沿模具的长度方向排列,感应器用于检测其下方是否有模具。本实用新型可以提升工作效率。


