授权公布号:CN218061054U
连接结构及具有该连接结构的预制构件
有效
申请
2022-09-01
申请公布
1970-01-01
授权
2022-12-16
预估到期
2032-09-01
| 申请号 | CN202222331035.6 |
| 申请日 | 2022-09-01 |
| 授权公布号 | CN218061054U |
| 授权公告日 | 2022-12-16 |
| 分类号 | E04C5/16;E04B1/00 |
| 分类 | 建筑物; |
| 申请人名称 | 广东三和管桩股份有限公司 |
| 申请人地址 | 广东省中山市小榄镇同兴东路30号 |
专利法律状态
2022-12-16
授权
状态信息
授权
摘要
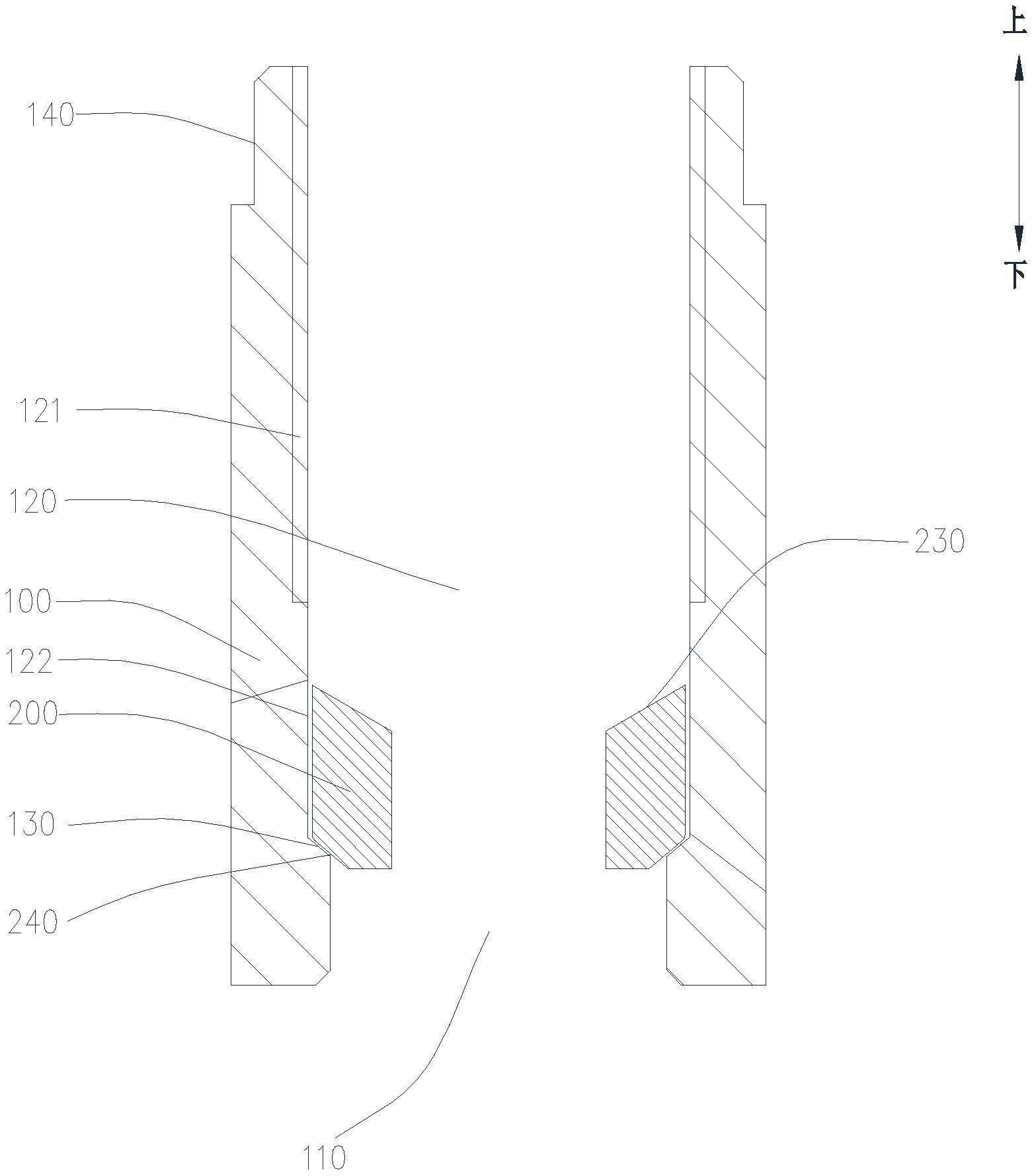
本实用新型提供了连接结构及具有该连接结构的预制构件,其中连接结构,包括连接套筒和卡块,连接套筒,连接套筒的下部设置有供钢筋穿过的第一孔,连接套筒上部设置有第二孔,第二孔包括上段的螺纹部和下段的非螺纹部,卡块位于非螺纹部内并用于限位钢筋的墩头,卡块设置有第三孔,螺纹部用于与外部构件连接,第一孔与第二孔结合处设置有卡接部,卡接部用于限制卡块以防止卡块从第一孔穿出。本实用新型可以代替传统的端板,降低预制构件的制造成本。


