授权公布号:CN218365480U
一种管桩产品养护系统
有效
申请
2022-07-08
申请公布
1970-01-01
授权
2023-01-24
预估到期
2032-07-08
| 申请号 | CN202221763680.9 |
| 申请日 | 2022-07-08 |
| 授权公布号 | CN218365480U |
| 授权公告日 | 2023-01-24 |
| 分类号 | B28B11/24 |
| 分类 | 加工水泥、黏土或石料; |
| 申请人名称 | 广东三和管桩股份有限公司 |
| 申请人地址 | 广东省中山市东升镇同兴东路30号 |
专利法律状态
2023-01-24
授权
状态信息
授权
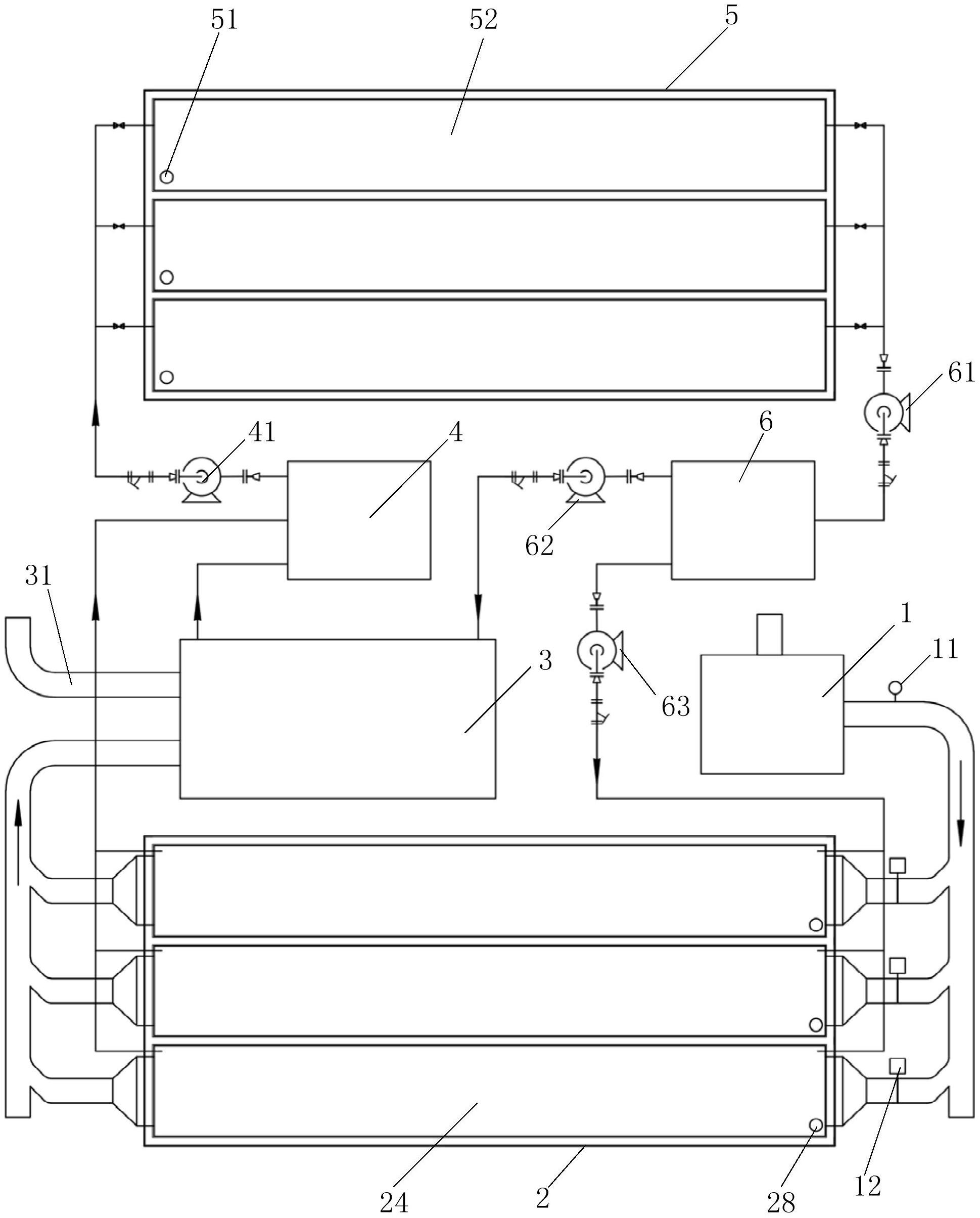
摘要
本实用新型公开了一种管桩产品养护系统,包括热风炉、第一养护池、气水换热器和第一回收模块;所述热风炉用于产生初级养护拆模后的管桩高温养护所需的高温热风;所述第一养护池与所述热风炉连接,用于对初级养护拆模后的管桩进行高温热风养护;所述气水换热器与所述第一养护池连接,用于对第一养护池排出的高温热风与所述气水换热器中的水进行气水热交换,得到高温热水;所述第一回收模块与所述气水换热器连接,用于对经所述气水换热器处理后的高温热水进行回收,回收后的热水可以用于管桩初级养护。采用本实用新型,养护效果好,维护成本低,有效提高能量利用率,从而降低生产成本,提高生产效率。


