授权公布号:CN218053210U
管桩生产辅助装置
有效
申请
2022-06-02
申请公布
1970-01-01
授权
2022-12-16
预估到期
2032-06-02
| 申请号 | CN202221385899.X |
| 申请日 | 2022-06-02 |
| 授权公布号 | CN218053210U |
| 授权公告日 | 2022-12-16 |
| 分类号 | B28B13/02;B28B21/60 |
| 分类 | 加工水泥、黏土或石料; |
| 申请人名称 | 广东三和管桩股份有限公司 |
| 申请人地址 | 广东省中山市小榄镇同兴东路30号 |
专利法律状态
2022-12-16
授权
状态信息
授权
摘要
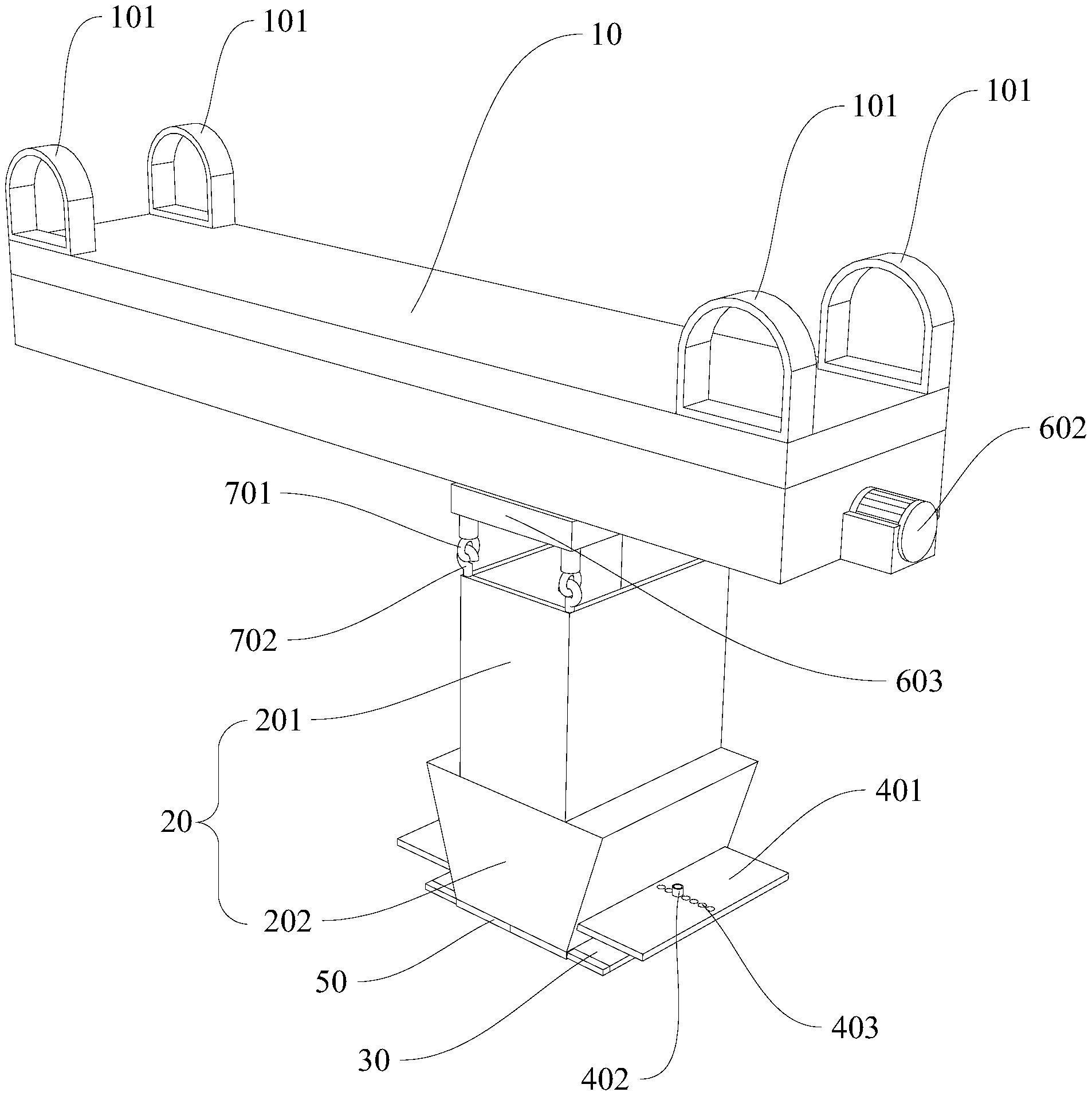
本实用新型提供一种管桩生产辅助装置,包括安装机架;设置于机架上且用于存储物料的储料仓,可移动的设置于出料口处的调节板,储料仓为设有进料口和出料口的中空件;调节板可通过移动控制出料口的大小。本方案在使用时,可先将混凝土物料从进料口添加至储料仓内,之后在将储料仓安装放置在安装机架上,最后当需要进行下料时,工作人员可根据对应的管桩的大小规格来移动调节板的位置,直至出料口的大小和混凝土的下料速度与所加工的管桩相适配,此时便能够实现对管桩的加工。通过上述设置,可通过移动调节板的方式来实现对出料量和下料速度进行调节,调节方式简单快捷,且能够满足不同管柱生产的需求,提高辅助设备的适应性。


