授权公布号:CN216639789U
一种应用于纺织加工的自动捻线机设备
有效
申请
2022-02-10
申请公布
1970-01-01
授权
2022-05-31
预估到期
2032-02-10
| 申请号 | CN202220270612.2 |
| 申请日 | 2022-02-10 |
| 授权公布号 | CN216639789U |
| 授权公告日 | 2022-05-31 |
| 分类号 | D01H15/00;D01H13/16;D01H11/00 |
| 分类 | 天然或人造的线或纤维;纺纱或纺丝; |
| 申请人名称 | 浙江鑫鸿拉链有限公司 |
| 申请人地址 | 浙江省金华市义乌市稠江江湾工业区 |
专利法律状态
2022-05-31
授权
状态信息
授权
摘要
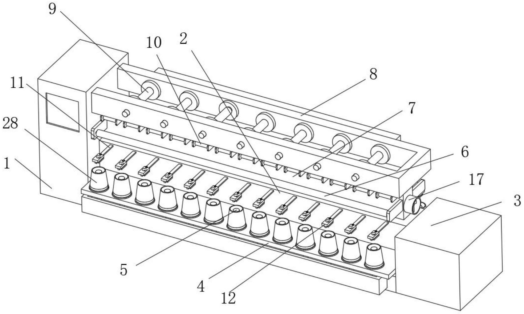
本实用新型属于捻线机设备技术领域,且公开了一种应用于纺织加工的自动捻线机设备,包括控制箱、安装座和动力箱,所述安装座的侧面固定连接有横板,所述横板的顶面活动安装有套轴。本实用新型通过在安装杆的外表面固定套接安装板,使得安装板的顶面开设圆孔,且使得圆孔与导线孔为同心孔,并在安装板的端面固定安装传感器,使得线条通过穿过圆孔和导线孔向外延伸出去,在进行捻线时,当线条断裂时,线条从圆孔中滑出,传感器前方检测不到活动线条时,动作并将信号传递给报警器进行报警,操作员及时停机进行接线,断线发现及时,避免操作员反复巡查,且及时进行接线,提高实际捻线效率,使用效果好。


