授权公布号:CN210238811U
一种防水保温建筑材料
有效
申请
2019-06-06
申请公布
1970-01-01
授权
2020-04-03
预估到期
2029-06-06
| 申请号 | CN201920852330.1 |
| 申请日 | 2019-06-06 |
| 授权公布号 | CN210238811U |
| 授权公告日 | 2020-04-03 |
| 分类号 | E04B1/66 |
| 分类 | 建筑物; |
| 申请人名称 | 北京生态家园科技集团有限公司 |
| 申请人地址 | 北京市大兴区海鑫路8号院6号楼 |
专利法律状态
2020-04-03
授权
状态信息
授权
摘要
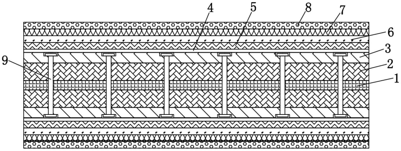
本实用新型属于建筑材料技术领域,尤其为一种防水保温建筑材料,包括基板,所述基板的顶部和底部均设有保温板,两个所述保温板相互远离一侧均设有加强板,两个所述加强板相互远离的一侧均设有胶粘剂层,两个所述胶粘剂层相互远离一侧均设有防火层,两个所述防火层分别通过相对应的所述胶粘剂层与相对应的所述加强板固定连接,两个所述防火层相互远离的一侧均设有耐腐蚀层,两个所述耐腐蚀层相互远离的一侧均设有耐磨层。本实用新型结构简单,经济实用,粘接牢固,不易变形,大大的提高了建筑材料的防水、防潮和保温效果,而且具有良好的耐磨、耐腐蚀和耐高温性能,大大的增加了建筑材料的使用寿命,适合广泛推广和使用。


