授权公布号:CN216321018U
一种可更换内部除湿材料的除湿袋
有效
申请
2021-11-26
申请公布
1970-01-01
授权
2022-04-19
预估到期
2031-11-26
| 申请号 | CN202122942190.7 |
| 申请日 | 2021-11-26 |
| 授权公布号 | CN216321018U |
| 授权公告日 | 2022-04-19 |
| 分类号 | B01D53/26;B01D53/28;B65D33/14;B65D33/16 |
| 分类 | 一般的物理或化学的方法或装置; |
| 申请人名称 | 上海能臣日用品有限公司 |
| 申请人地址 | 上海市青浦区凤星路1588号2幢1层G区163室 |
专利法律状态
2022-04-19
授权
状态信息
授权
摘要
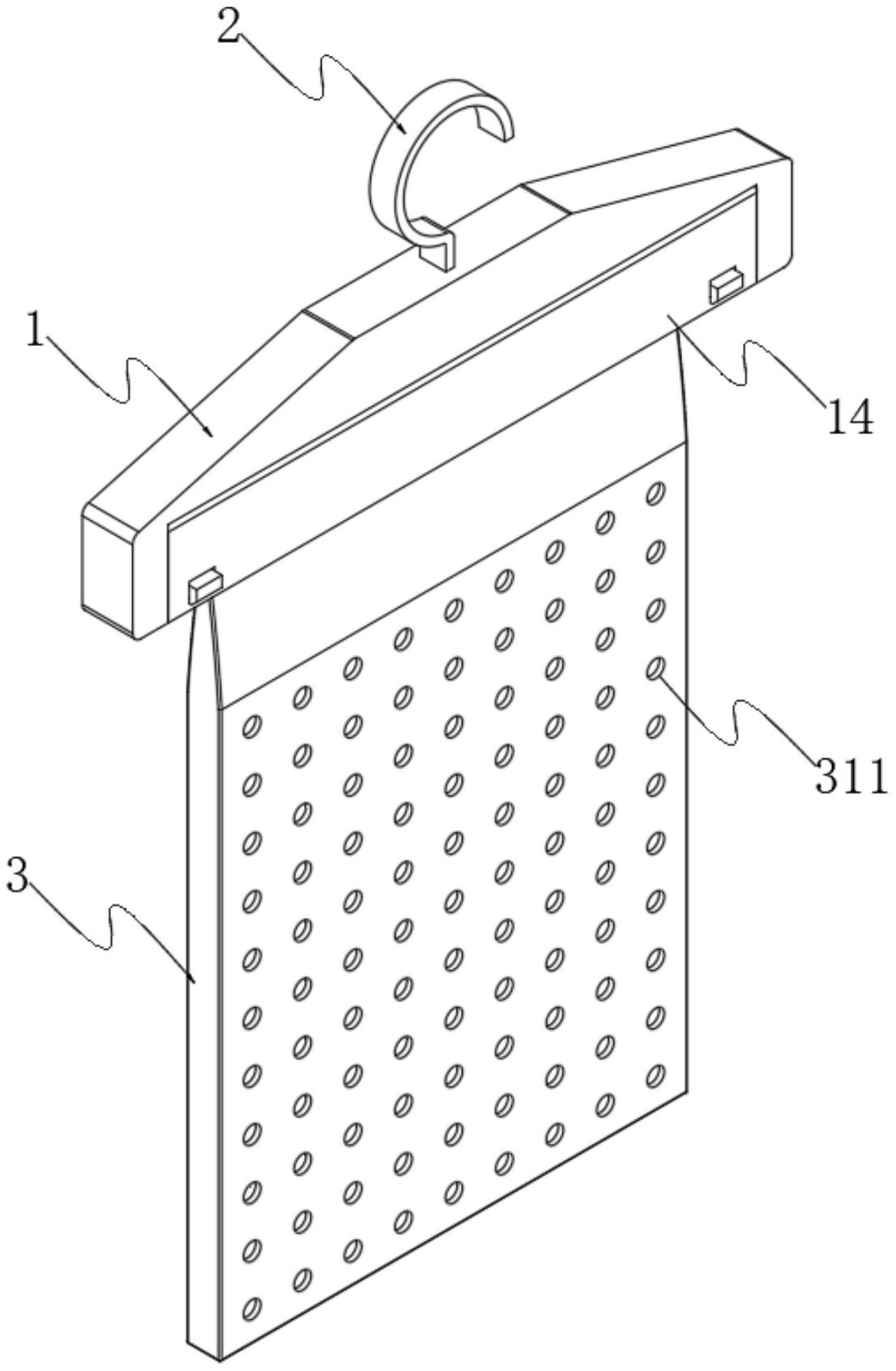
本实用新型涉及一种可更换内部除湿材料的除湿袋,包括固定机构,所述固定机构的下方设有除湿机构;所述除湿机构包括顶面呈开口式结构的袋体,所述袋体的外壁上开设有多个呈矩阵式分布的透气孔,所述袋体的袋口处开设有多个固定孔;所述袋体的内部设有呈中空式结构的内袋;该可更换内部除湿材料的除湿袋通过设有的固定机构和除湿机构:一方面,设置在袋体内的内袋和除湿层可以经袋口处取出,便于对失效的除湿材料进行更换;另一方面,通过设置的固定轴、翻板和挂钩等,便于对袋体进行固定,便于进行使用;该设计便于对袋体进行拆装,方便取出和更换失效的除湿材料,且袋体可再次利用,避免了浪费的现象。


