授权公布号:CN216572637U
一种洁厕液生产用原料混合装置
有效
申请
2021-11-26
申请公布
1970-01-01
授权
2022-05-24
预估到期
2031-11-26
| 申请号 | CN202122927300.2 |
| 申请日 | 2021-11-26 |
| 授权公布号 | CN216572637U |
| 授权公告日 | 2022-05-24 |
| 分类号 | B01F27/90;B01F35/80;B01F101/24N |
| 分类 | 一般的物理或化学的方法或装置; |
| 申请人名称 | 上海能臣日用品有限公司 |
| 申请人地址 | 上海市青浦区凤星路1588号2幢1层G区163室 |
专利法律状态
2022-05-24
授权
状态信息
授权
摘要
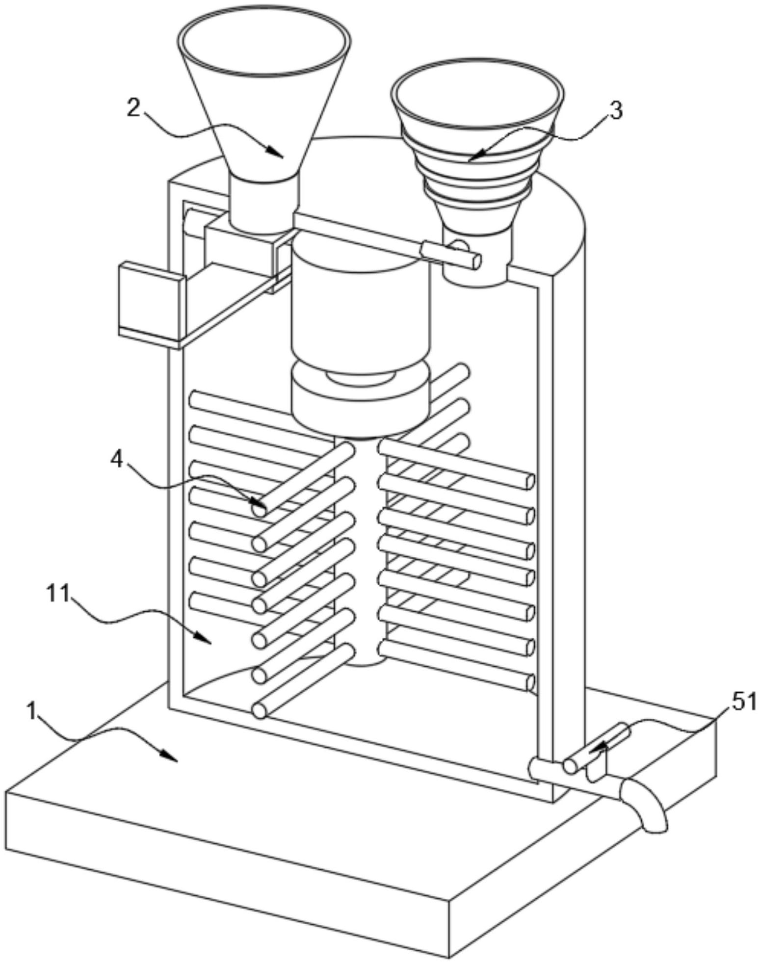
本实用新型涉及洁厕液技术领域,具体为一种洁厕液生产用原料混合装置,包括底座,底座顶部通过螺栓固定连接有搅拌桶,搅拌桶顶部靠近左侧的位置设有固体加料机构,搅拌桶顶部靠近右侧的位置设有液体加料机构,搅拌桶内壁顶部设有搅拌机构,搅拌桶的圆周外壁靠近下方的位置设有出料管,出料管的一端贯穿搅拌桶的圆周外壁并通入搅拌桶内腔,出料管上安装有出料阀;该洁厕液生产用原料混合装置,通过设置固体加料机构和液体加料机构使得该装置可以根据配方定量的加入原料,通过设置搅拌机构使得该装置可以将固体和液体原料充分混合,使得该装置生产洁厕液的生产效率得到提高,并且使得该装置生产出的产品质量得到提高。


