授权公布号:CN210333387U
一种水果传动分级设备
有效
申请
2019-05-17
申请公布
1970-01-01
授权
2020-04-17
预估到期
2029-05-17
| 申请号 | CN201920709510.4 |
| 申请日 | 2019-05-17 |
| 授权公布号 | CN210333387U |
| 授权公告日 | 2020-04-17 |
| 分类号 | B07B13/08;B07B13/14;B07B13/16;A23N15/00 |
| 分类 | 将固体从固体中分离;分选; |
| 申请人名称 | 北京红螺食品有限公司 |
| 申请人地址 | 北京市怀柔区庙城镇郑重庄村631号 |
专利法律状态
2020-04-17
授权
状态信息
授权
摘要
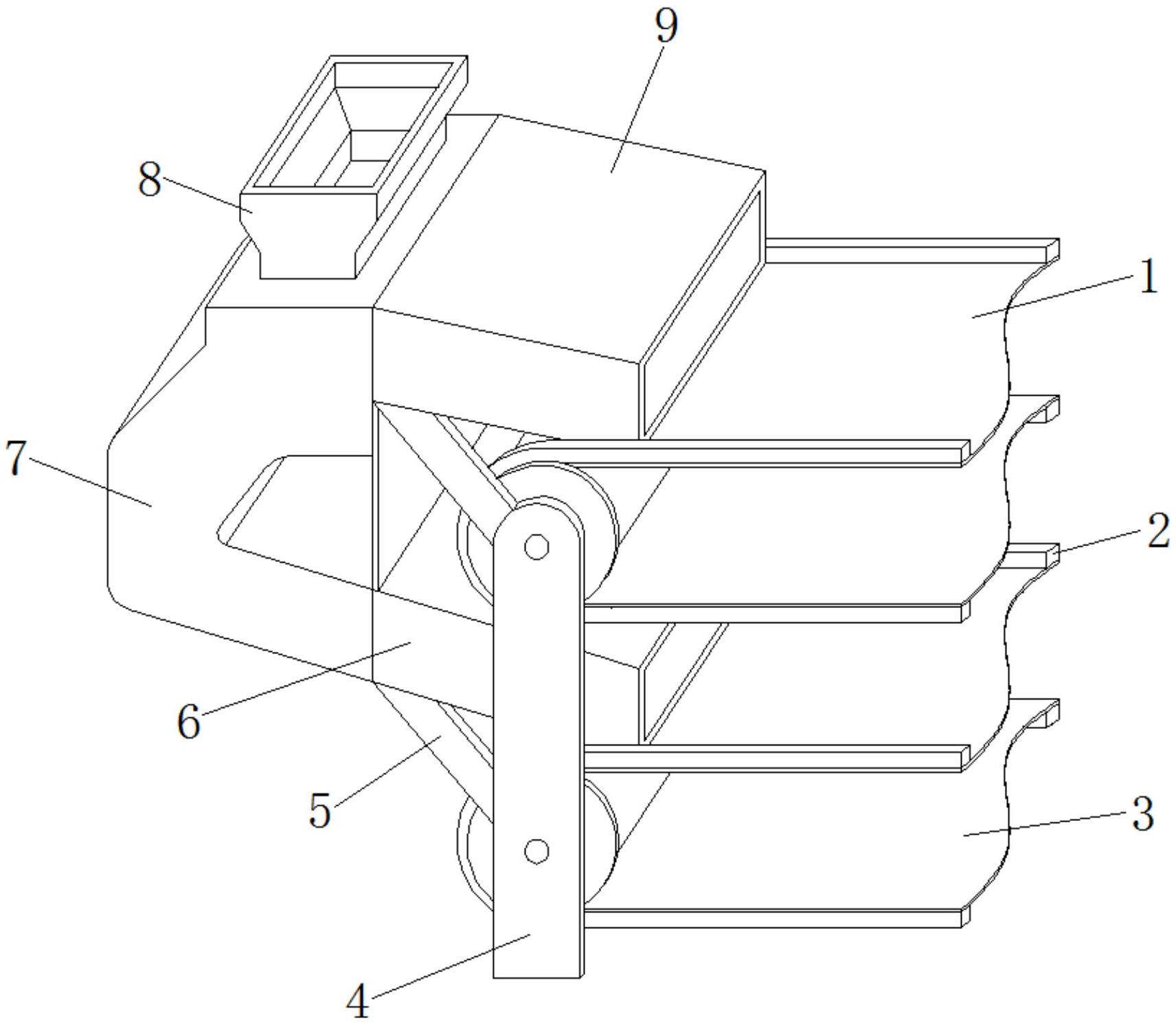
本实用新型公开了一种水果传动分级设备,包括机架,所述机架的一侧外壁顶部和底部均开有轴承孔,且两个轴承孔的内壁均通过轴承连接有皮带辊,两个所述皮带辊的外壁分别套接有一级输送带和二级输送带,所述机架的一侧外壁顶部和底部均焊接有斜撑板,且两个斜撑板的顶部外壁分别通过螺钉固定有一级管道和二级管道,所述一级管道和二级管道的相对一侧外壁焊接有挡板,且挡板的一侧外壁通过螺钉固定有分级管。本实用新型便于对水果进行分级传输,有助于提高工作效率和降低劳动强度,可以防止水果过快沿着分级板滑落,有助于提高分级准确性,可以降低水果与二级管道之间的冲击力,有助于减小对水果造成的伤害。


