授权公布号:CN211322904U
一种食品加工用高温喷淋式杀菌机
有效
申请
2019-11-15
申请公布
1970-01-01
授权
2020-08-25
预估到期
2029-11-15
| 申请号 | CN201921981755.9 |
| 申请日 | 2019-11-15 |
| 授权公布号 | CN211322904U |
| 授权公告日 | 2020-08-25 |
| 分类号 | A23L3/02;A23L5/20 |
| 分类 | 其他类不包含的食品或食料;及其处理; |
| 申请人名称 | 上海丁义兴食品股份有限公司 |
| 申请人地址 | 上海市金山区枫泾镇枫阳路848号 |
专利法律状态
2020-08-25
授权
状态信息
授权
摘要
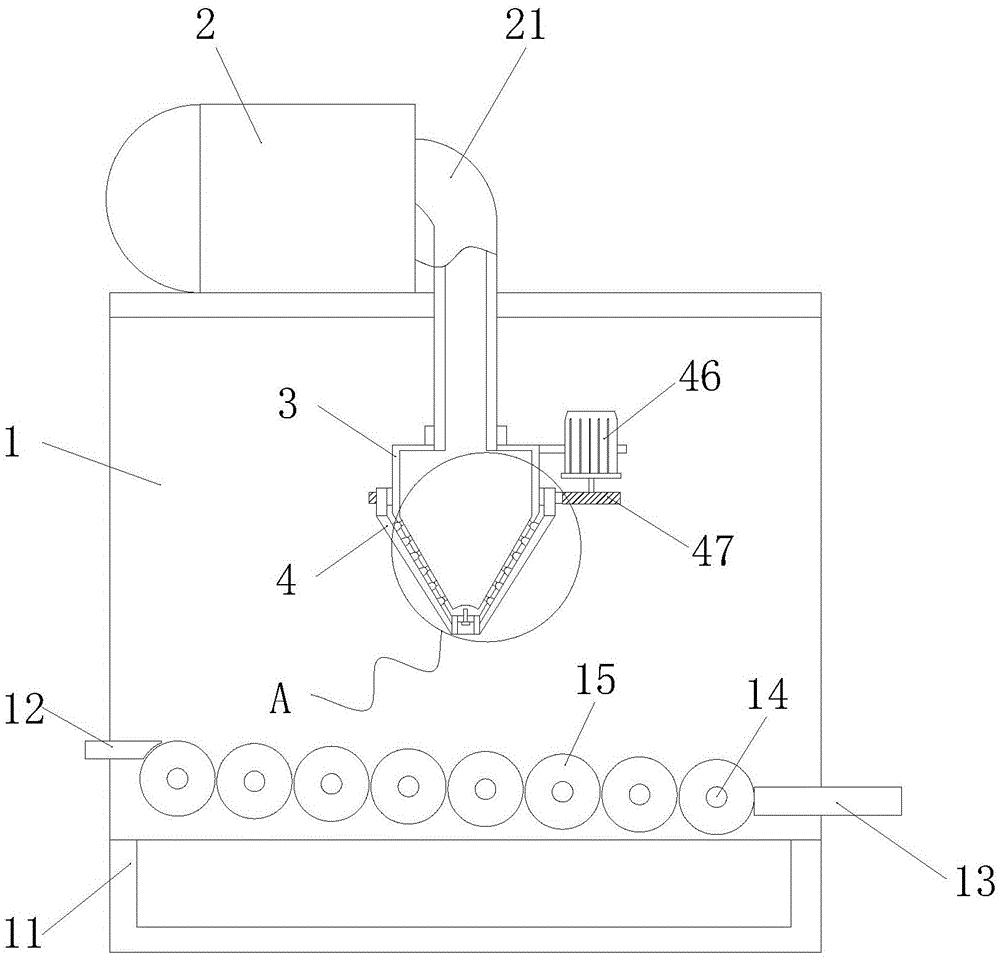
本实用新型属于食品加工技术领域,尤其一种食品加工用高温喷淋式杀菌机,包括中空结构的机体、安装在所述机体上表面的热水器以及设置在所述机体内的喷头和转动连接在所述喷头上的封堵壳,所述机体的底面内壁固定连接有储水槽,所述机体的内壁靠近所述储水槽上方的位置处固定连接有进料板和出料板,所述机体的内壁位于所述进料板和所述出料板中间的位置处固定连接有固定轴,所述固定轴的外壁转动连接有金属棍;由于封堵壳内的橡胶挡条对部分喷孔进行封堵,从而使得只有部分的喷孔能喷出热水,电机的输出轴带动齿轮转动,从而带动封堵壳外侧齿轮转动,使得封堵壳在喷头的表面转动,从而使得喷头螺旋喷洒热水,从而使得喷头的喷洒面积更广。


