授权公布号:CN211379448U
一种方便取拿的肉制品加工用放置装置
有效
申请
2019-11-12
申请公布
1970-01-01
授权
2020-09-01
预估到期
2029-11-12
| 申请号 | CN201921946080.4 |
| 申请日 | 2019-11-12 |
| 授权公布号 | CN211379448U |
| 授权公告日 | 2020-09-01 |
| 分类号 | A22C15/00;A23B4/06 |
| 分类 | 屠宰;肉品处理;家禽或鱼的加工; |
| 申请人名称 | 上海丁义兴食品股份有限公司 |
| 申请人地址 | 上海市金山区枫泾镇枫阳路848号 |
专利法律状态
2020-09-01
授权
状态信息
授权
摘要
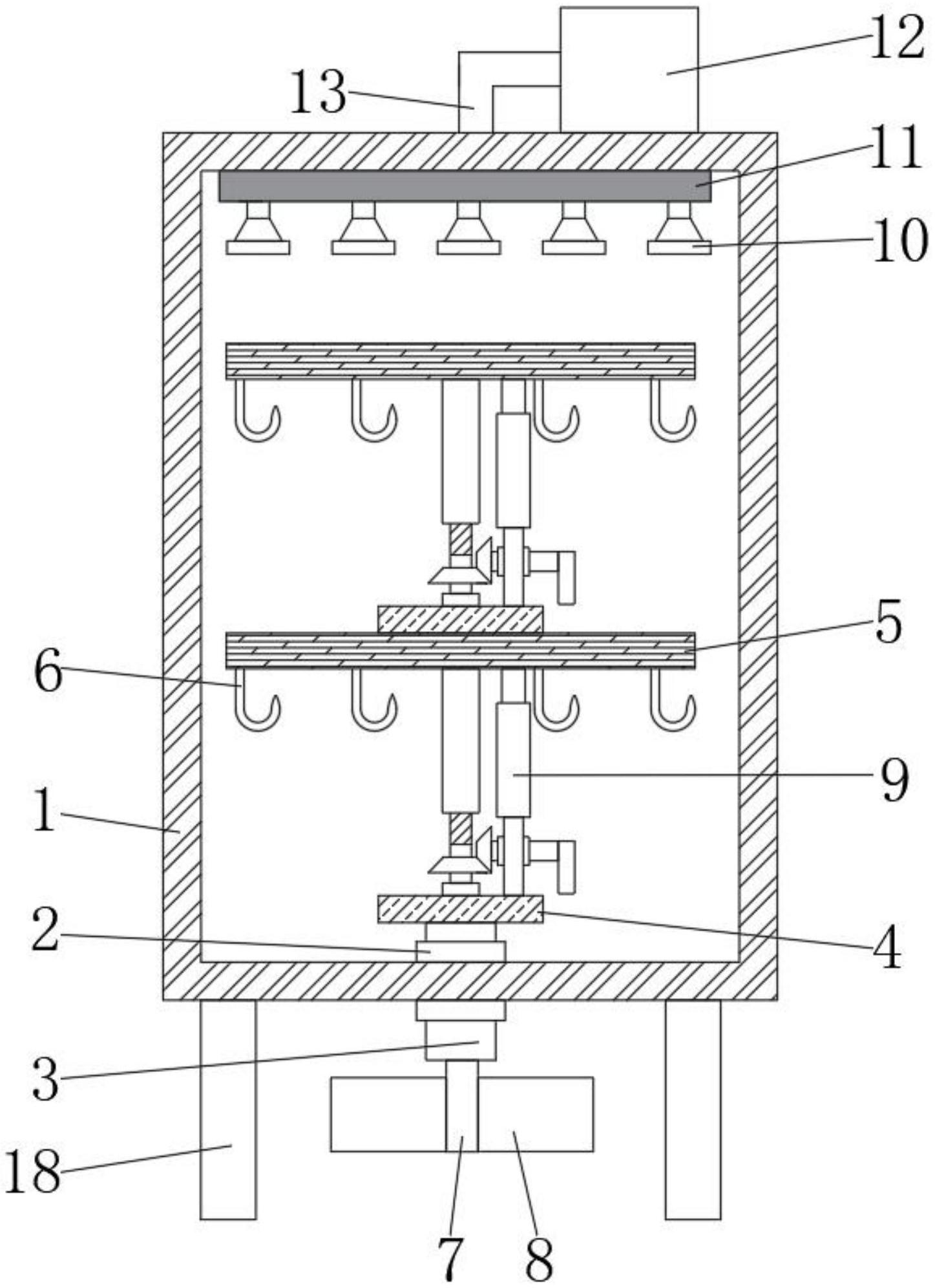
本实用新型公开了一种方便取拿的肉制品加工用放置装置,涉及肉制品加工技术领域,其包括放置箱,所述放置箱内设置有两个固定板和两个十字架。该方便取拿的肉制品加工用放置装置,通过转轴、轴承一、固定板和两个脚踏板的配合,当工人需要从放置箱内拿取未加工完成肉制品时,根据拿取肉制品的需要,用一只脚蹬动一个脚踏板使转轴转动,从而带动十字架和挂钩上的肉制品转动,将需要拿取的肉制品转动到前侧,从而在工人用脚蹬动脚踏板调整十字架的转动方向时,不耽误工人双手去拿取所需要的肉制品,从而给工人拿取所需要的肉制品带来方便,不需要工人将胳膊深入十字架后侧拿取肉制品,减小了工人工作中存在的安全隐患,给工人的工作带方便。


