授权公布号:CN211347935U
一种食品防霉变检测仪
有效
申请
2019-11-11
申请公布
1970-01-01
授权
2020-08-25
预估到期
2029-11-11
| 申请号 | CN201921936701.0 |
| 申请日 | 2019-11-11 |
| 授权公布号 | CN211347935U |
| 授权公告日 | 2020-08-25 |
| 分类号 | G01N21/64;A61L2/04 |
| 分类 | 测量;测试; |
| 申请人名称 | 上海丁义兴食品股份有限公司 |
| 申请人地址 | 上海市金山区枫泾镇枫阳路848号 |
专利法律状态
2020-08-25
授权
状态信息
授权
摘要
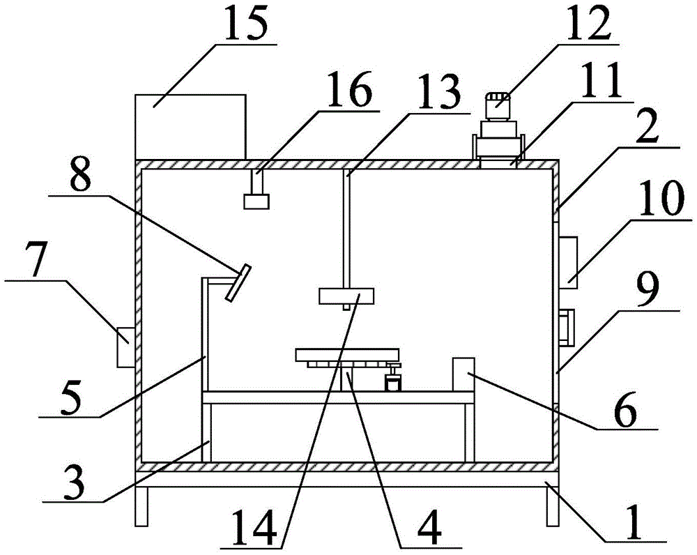
本实用新型提供一种食品防霉变检测仪,包括底座,箱体,支撑架,旋转机构,支撑杆,荧光分析仪,电控柜,紫外线发生器,活动门,控制电脑,通气阀,通气风机,滑杆,荧光接收器,蒸汽发生器和蒸汽管,本实用新型旋转机构,荧光分析仪和蒸汽发生器的设置,将食品放置在装转盘的中间位置,通过电机带动旋转盘转动,有效的提高了设备检测的准确率,通过紫外线发生器对食品的照射,如果食品发生霉变会产生黄曲霉毒素,在紫外线的照射下会发出荧光,传输到荧光分析仪进行分析,达到对食品霉变的检测,食品检测完毕后,避免检测食品中含有细菌在空气中残留传递到下一次检测的食品,引起食品的变质,采用高温杀菌的方式对检测仪进行消毒杀菌。


