授权公布号:CN211268417U
一种撒盐均匀的肉制品腌制加工设备
有效
申请
2019-11-12
申请公布
1970-01-01
授权
2020-08-18
预估到期
2029-11-12
| 申请号 | CN201921946992.1 |
| 申请日 | 2019-11-12 |
| 授权公布号 | CN211268417U |
| 授权公告日 | 2020-08-18 |
| 分类号 | A23B4/32 |
| 分类 | 其他类不包含的食品或食料;及其处理; |
| 申请人名称 | 上海丁义兴食品股份有限公司 |
| 申请人地址 | 上海市金山区枫泾镇枫阳路848号 |
专利法律状态
2020-08-18
授权
状态信息
授权
摘要
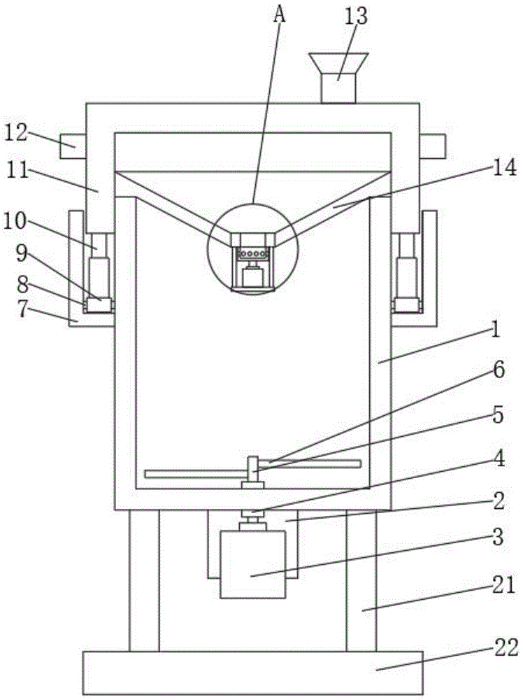
本实用新型公开了一种撒盐均匀的肉制品腌制加工设备,涉及食品加工技术领域,其包括箱体,箱体的下表面固定连接有固定板。该撒盐均匀的肉制品腌制加工设备,通过设置电机二,在工作人员将盐倒进锥形板的上表面后,盐可以通过通孔落进抛洒盘中,在电机二带动抛洒盘转动时,抛洒盘内部的盐可以通过抛洒孔撒到肉制品的表面,通过电机一带动搅拌棒,使搅拌棒可以对箱体内部的肉制品进行搅拌,使盐可以均匀的粘附在肉制品的表面,在盐与肉制品充分的粘附在肉制品的表面后,可以控制电机二和抛洒盘停止工作,从而减少了盐的浪费,降低了生产的成本,同时不需要工作人员人工将盐涂抹到肉制品的外表面,降低了工作人员的工作强度,增加了工作效率。


