授权公布号:CN206622112U
一种粉状废活性炭的卧式连续再生设备
有效
申请
2017-02-10
申请公布
1970-01-01
授权
2017-11-10
预估到期
2027-02-10
| 申请号 | CN201720125441.3 |
| 申请日 | 2017-02-10 |
| 授权公布号 | CN206622112U |
| 授权公告日 | 2017-11-10 |
| 分类号 | B01J20/34;B01J20/20 |
| 分类 | 一般的物理或化学的方法或装置; |
| 申请人名称 | 浙江荣兴活性炭有限公司 |
| 申请人地址 | 浙江省丽水松阳县赤寿工业园区 |
专利法律状态
2018-08-28
专利申请权、专利权的转移
状态信息
专利权的转移;IPC(主分类):B01J 20/34;专利号:ZL2017201254413;登记生效日:20180808;变更事项:专利权人;变更前权利人:浙江省林业科学研究院;变更后权利人:浙江荣兴活性炭有限公司;变更事项:地址;变更前权利人:310023 浙江省杭州市留和路399号;变更后权利人:323400 浙江省丽水松阳县赤寿工业园区
2017-11-10
实用新型专利权授予
状态信息
授权
摘要
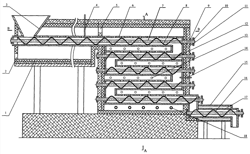
一种粉状废活性炭的卧式连续再生设备,它由烘干炉、再生炉和冷却出料管三部分构成,具体由废炭烘干炉、烘干尾气出口、原料加料斗、再生尾气出口、再生管、原料输送螺旋轴、螺旋页、螺旋轴套、传动链轮、再生设备壳体、进风孔、烘干炉和再生炉测温探头、冷却水夹套、出料螺旋、出料管、燃气烧嘴及进风管所组成。烘干炉内安装一层多根水平排列的干燥管,在再生炉中设置多排多层再生管,干燥管与再生炉的最高层再生管连成一体,原料通过输送螺旋依次输送到下一层再生管,废炭在干燥管和再生管中移动。废炭在干燥管中烘干后用螺旋输送到再生管被加热再生,挥发的可燃气体从再生管中逸出燃烧以加热上排的再生管,高温再生尾气被用来烘干废活性炭原料。


