授权公布号:CN108993458B
一种环保再生活性炭生产线
有效
申请
2018-07-04
申请公布
2018-12-14
授权
2021-03-19
预估到期
2038-07-04
| 申请号 | CN201810725531.5 |
| 申请日 | 2018-07-04 |
| 申请公布号 | CN108993458A |
| 申请公布日 | 2018-12-14 |
| 授权公布号 | CN108993458B |
| 授权公告日 | 2021-03-19 |
| 分类号 | B01J20/34;B01J20/20 |
| 分类 | 一般的物理或化学的方法或装置; |
| 申请人名称 | 浙江荣兴活性炭有限公司 |
| 申请人地址 | 浙江省丽水市松阳县余姚山海协作园余姚大道199号 |
专利法律状态
2021-03-19
授权
状态信息
授权
2019-01-08
实质审查的生效
状态信息
实质审查的生效
2018-12-14
公布
状态信息
公布
摘要
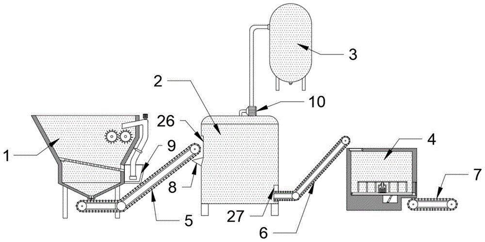
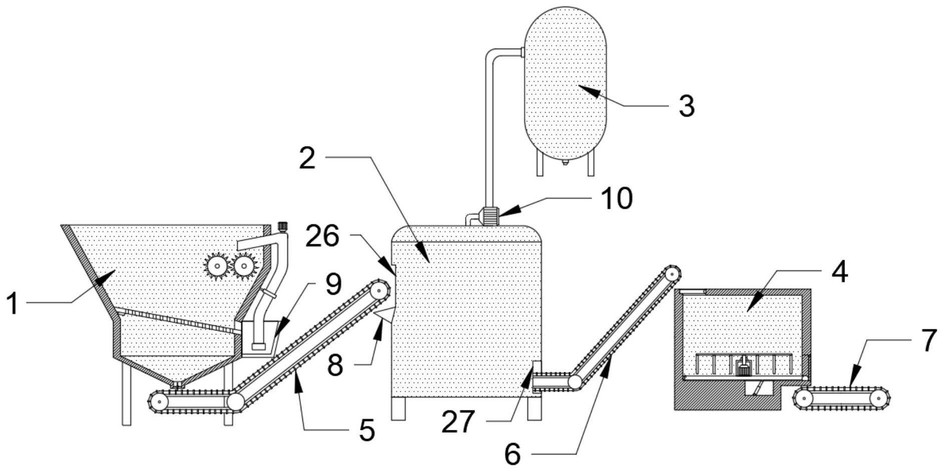
本发明公开了一种新型环保再生活性炭生产线,包括筛选箱、高温箱、液化箱、活化箱、第一传送带、第二传送带、第三传送带、回收箱、气泵、绞龙输送机、安装架、主动粉碎轮、从动粉碎轮、筛选排料口、筛网、粗料口、主动齿轮、从动齿轮、转动电机、十字转板、橡胶隔板、高温进料口、高温出料口、活化进料口、活化出料口、推料板、安装槽、液压缸、驱动电机、搅拌杆和密封箱,所述筛选箱内部倾斜安装有筛网,所述筛选箱侧壁位于筛网最低端处开设有粗料口,此再生活性炭生产线通过筛选箱将板结和粘连的活性炭进行破碎,提高加工精度和活性炭质量,而且十字转板与橡胶隔板的间歇接触实现有规律的定量排料,提高加工效率,避免散料。


