授权公布号:CN110618094B
一种生鲜牛肉多指标复合同步检测台及使用方法
有效
申请
2019-08-12
申请公布
2019-12-27
授权
2022-03-15
预估到期
2039-08-12
| 申请号 | CN201910739675.0 |
| 申请日 | 2019-08-12 |
| 申请公布号 | CN110618094A |
| 申请公布日 | 2019-12-27 |
| 授权公布号 | CN110618094B |
| 授权公告日 | 2022-03-15 |
| 分类号 | G01N21/25;G01N24/08;G01N27/26 |
| 分类 | 测量;测试; |
| 申请人名称 | 山西省平遥牛肉集团有限公司 |
| 申请人地址 | 山西省晋中市平遥县中都路23号 |
专利法律状态
2022-03-15
授权
状态信息
授权
2019-12-27
公布
状态信息
公布
摘要
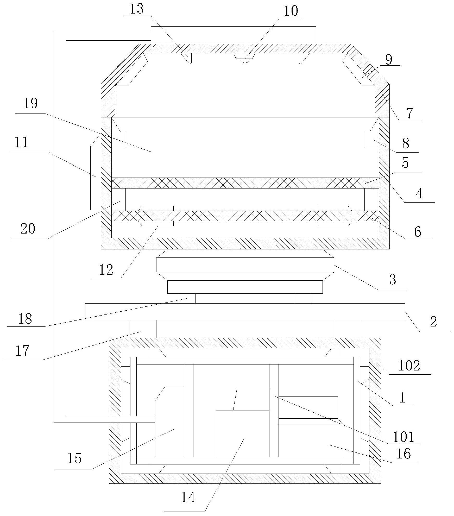
本发明涉及一种生鲜牛肉多指标复合同步检测台,包括承载机架、工作台、承载托盘、承载网、检测网、密封罩、远红外辐照光源、检测摄像头、光纤检测探头、光谱分析仪、光纤复用器及主控系统,承载机架上端面与工作台滑动连接,工作台上端面通过回转驱动机构与承载托盘相互滑动连接,承载托盘与密封罩相互连接,承载网、检测网嵌于承载托盘内,远红外辐照光源、检测摄像头、光纤检测探头与密封罩下端面相互连接。检测方法包括牛肉采样,牛肉光谱检测,肉电化学检测,磁场特性检测及数据汇总等五个步骤。本发明一方面通用性好,集成化程度、使用灵活性方便;另一方面检测效率及检测精度高,从而极大的提高了牛肉检测作业的工作精度和检测效率。


