授权公布号:CN210520029U
一种蒸煮牛肉多源气流高效沥干降温装置
有效
申请
2019-08-12
申请公布
1970-01-01
授权
2020-05-15
预估到期
2029-08-12
| 申请号 | CN201921304672.6 |
| 申请日 | 2019-08-12 |
| 授权公布号 | CN210520029U |
| 授权公告日 | 2020-05-15 |
| 分类号 | A23L13/00;A23L5/10 |
| 分类 | 其他类不包含的食品或食料;及其处理; |
| 申请人名称 | 山西省平遥牛肉集团有限公司 |
| 申请人地址 | 山西省晋中市平遥县中都路23号 |
专利法律状态
2020-05-15
授权
状态信息
授权
摘要
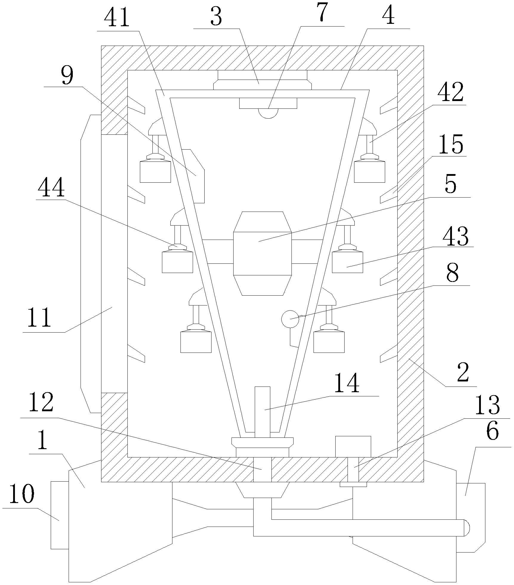
本新型一种蒸煮牛肉多源气流高效沥干降温装置,包括承载机架、作业腔、回转机构、承载架、调温装置、真空泵、气压传感器、温度传感器、湿度传感器及控制电路,作业腔为密闭腔体结构,承载架嵌于作业腔内,承载架上端面及下端面均通过回转机构与作业腔连接,承载架包括承载龙骨、导向杆、承载托盘。本新型一方面具有良好的承载能力和资源综合利用能力,可有效满足大量蒸煮后热牛肉集中沥干作业和调温作业,另一方面在沥干作业中,在有效提高水分蒸发、沥干效率的同时,另有效的提高了沥干作业时的防护能力,有效独具了外部污染物对沥干状态下牛肉造成的污染。


