授权公布号:CN215065420U
一种化工生产用安全环保取样装置
有效
申请
2020-12-29
申请公布
1970-01-01
授权
2021-12-07
预估到期
2030-12-29
| 申请号 | CN202023230551.7 |
| 申请日 | 2020-12-29 |
| 授权公布号 | CN215065420U |
| 授权公告日 | 2021-12-07 |
| 分类号 | G01N1/10 |
| 分类 | 测量;测试; |
| 申请人名称 | 山东滨农科技有限公司 |
| 申请人地址 | 山东省滨州市滨北办事处永莘路518号 |
专利法律状态
2021-12-07
授权
状态信息
授权
摘要
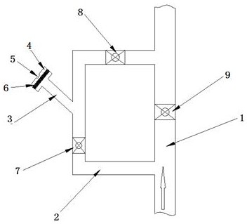
本实用新型公开了一种化工生产用安全环保取样装置,包括主管路和支管路,所述主管路为化工生产过程中的原有反应管道;所述支管路并行连接在所述主管路上;所述主管路位于所述支管路连接点的中部安装有主管球阀;所述支管路上连接有取样管路;所述取样管路的一端安装有密封盖;所述密封盖的内部安装有密封垫;所述支管路上安装有支管球阀一和支管球阀二;所述支管球阀一和所述支管球阀二位于所述取样管路的前后两侧。该装置结构对化工反应管道中易燃易爆、有毒、有腐蚀物料进行取样时,降低了主管道内易燃易爆、有毒、有腐蚀液体物料在高压下喷出泄漏的风险,取样更加安全。


