授权公布号:CN114278161B
一种指纹锁
有效
申请
2021-12-13
申请公布
2022-04-05
授权
2023-04-28
预估到期
2041-12-13
| 申请号 | CN202111520745.7 |
| 申请日 | 2021-12-13 |
| 申请公布号 | CN114278161A |
| 申请公布日 | 2022-04-05 |
| 授权公布号 | CN114278161B |
| 授权公告日 | 2023-04-28 |
| 分类号 | E05B17/18;E05B3/00;E05B17/00;G07C9/00;E05C17/60;E05F1/16;A61L2/18;A61L2/26;B08B1/02;B08B1/00 |
| 分类 | 锁;钥匙;门窗零件;保险箱; |
| 申请人名称 | 中山市可可西里智能家居有限公司 |
| 申请人地址 | 广东省中山市东升镇龙泽路2号第一卡 |
专利法律状态
2023-04-28
授权
状态信息
授权
2022-04-05
公布
状态信息
公布
摘要
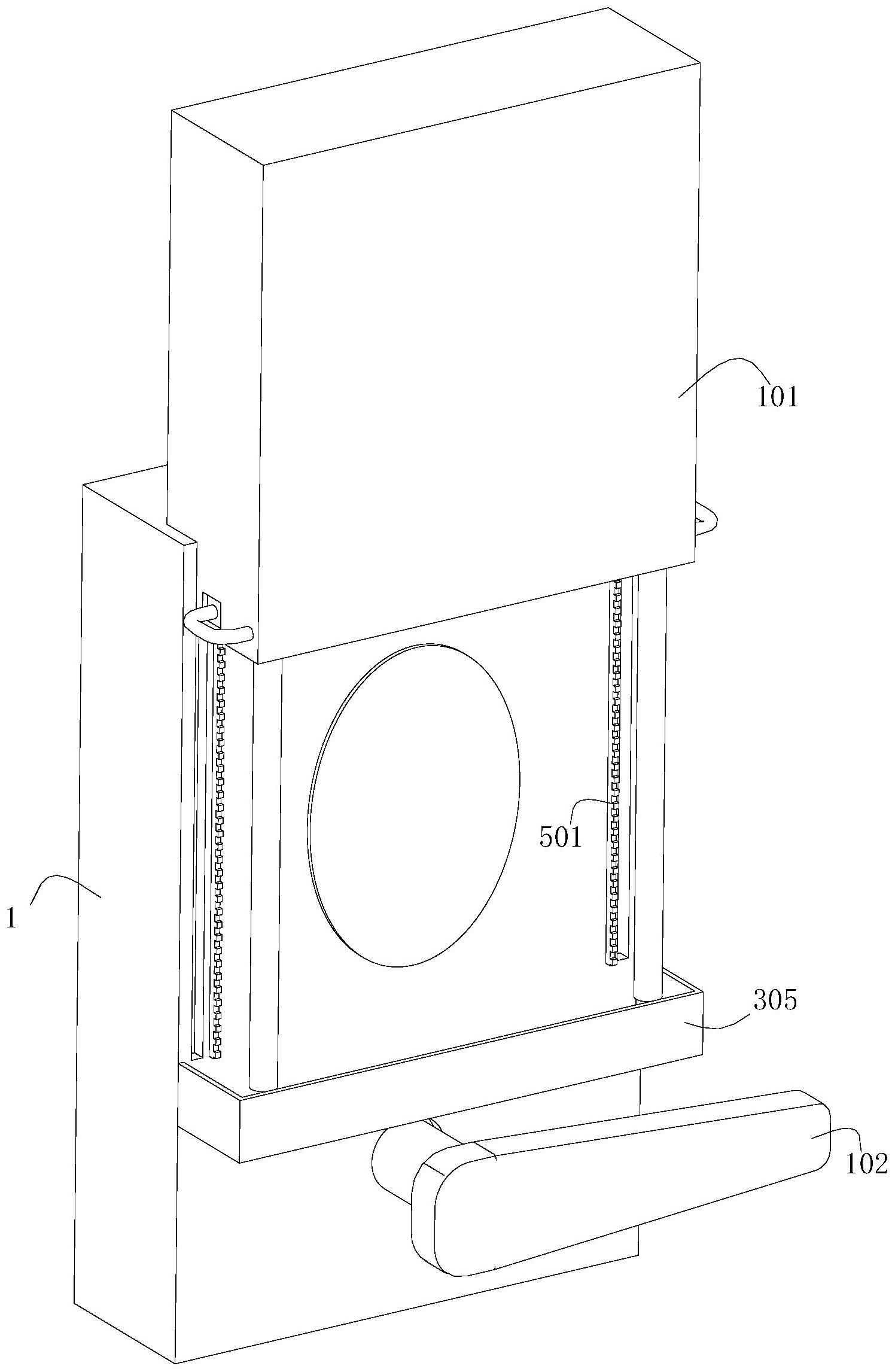
本发明涉及指纹锁技术领域,具体为一种指纹锁,包括指纹锁本体,所述指纹锁本体的前端上部滑动安装有保护盖,所述指纹锁本体的前端靠近下部转动安装有把手,且把手贯穿指纹锁本体的前端并延伸至指纹锁本体的内部,所述指纹锁本体的内部前端活动设置有锁定机构,且锁定机构与保护盖和把手相配合,通过设置锁定机构,需要向上转动把手才能够滑动保护盖,由于儿童的力量比较小,因此一般儿童无法向上推动把手,从而无法向上滑动保护盖,对指纹锁的屏幕起到了一定的保护作用,而且指纹锁的屏幕不会暴露在儿童的视野中,进而不会吸引儿童的注意,使得儿童不会去随意的按压指纹锁本体,有利于延长该装置的使用寿命。


