授权公布号:CN216690377U
一种墙体阴阳角施工加固件
有效
申请
2021-12-08
申请公布
1970-01-01
授权
2022-06-07
预估到期
2031-12-08
| 申请号 | CN202123066935.4 |
| 申请日 | 2021-12-08 |
| 授权公布号 | CN216690377U |
| 授权公告日 | 2022-06-07 |
| 分类号 | E04G17/00;E04G17/02;E04G17/04;E04G11/12;E04G9/02 |
| 分类 | 建筑物; |
| 申请人名称 | 陕西建工集团有限公司 |
| 申请人地址 | 陕西省西安市莲湖区北大街199号 |
专利法律状态
2022-06-07
授权
状态信息
授权
摘要
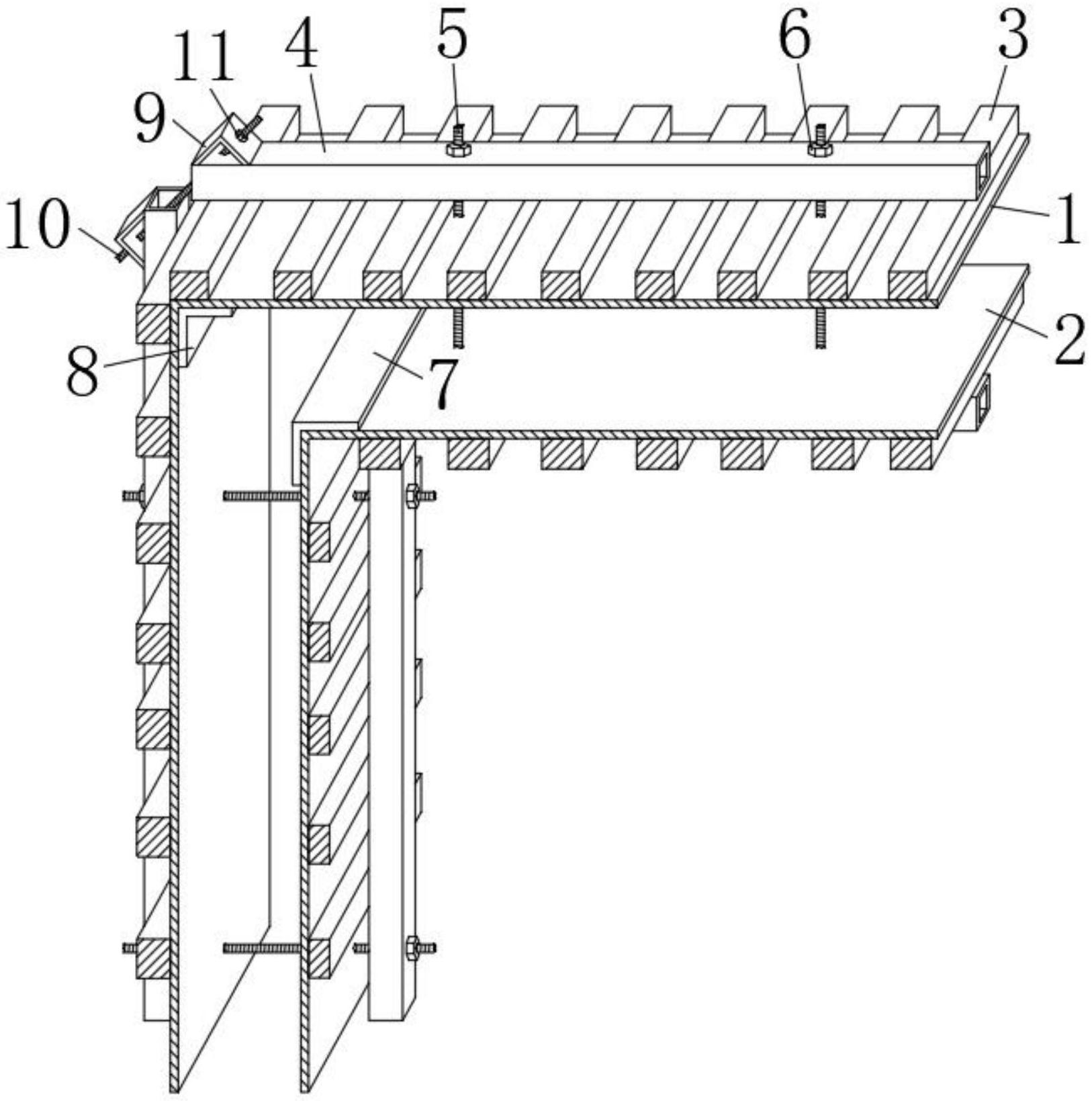
本实用新型提供一种墙体阴阳角施工加固件,涉及建筑施工技术领域,包括第一面板和第二面板,第二面板设置在第一面板的一侧,第一面板与第二面板相远离的一侧均等距设置有第一背楞,对应的第一背楞远离第一面板或者第二面板的一侧之间均设置有第二背楞,第一面板与第二面板之间设置有穿墙螺栓,穿墙螺栓的两端均贯穿对应的第二背楞,穿墙螺栓的两端且位于第二背楞的一侧均螺纹连接有第一紧固螺母。本实用新型结构紧凑,实用性强,替代传统的加固施工结构,将钢木混合做背楞,依靠穿墙螺栓固定该结构,具有结构整体性能好,制作墙面平整、模板周转快、一次投资少、劳动强度低、技术较易掌握的优点,有利于实际的应用。


