授权公布号:CN218798420U
沉箱吊环加工装置
有效
申请
2023-02-13
申请公布
1970-01-01
授权
2023-04-07
预估到期
2033-02-13
| 申请号 | CN202320211452.9 |
| 申请日 | 2023-02-13 |
| 授权公布号 | CN218798420U |
| 授权公告日 | 2023-04-07 |
| 分类号 | B21D11/10;B21D11/22 |
| 分类 | 基本上无切削的金属机械加工;金属冲压; |
| 申请人名称 | 中交一航局第二工程有限公司 |
| 申请人地址 | 山东省青岛市市南区福州南路16号 |
专利法律状态
2023-04-07
授权
状态信息
授权
摘要
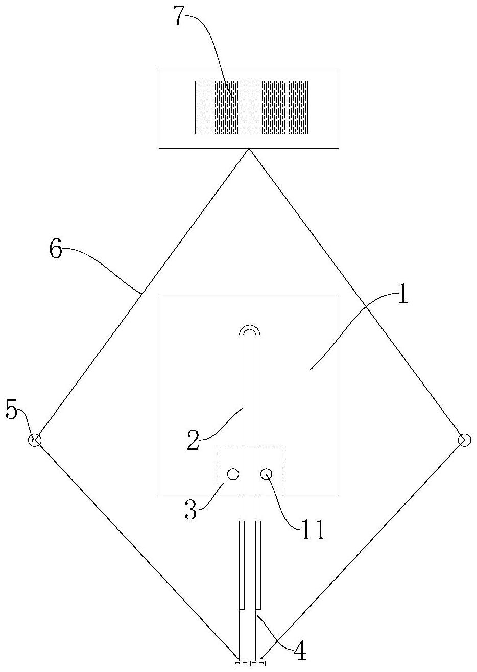
本实用新型涉及一种沉箱吊环加工装置,属于沉箱吊环生产技术领域,用于折弯U型件开口端两个相对设置的金属杆;该沉箱吊环加工装置包括底座、两个折弯机构、卷扬机;底座用于放置U型件;底座设有两个相对设置的定位杆,两个定位杆一一对应设置于两个金属杆相背的一侧;两个折弯机构与两个金属杆、两个定位杆一一对应设置,折弯机构与对应的金属杆连接并绕对应的定位杆转动,以折弯对应的金属杆;卷扬机用于驱动折弯机构转动;卷扬机通过收卷柔性连接件拉动折弯机构绕对应的定位杆转动。本实用新型提供的沉箱吊环加工装置能够简化沉箱吊环生产工艺,生产过程简单易操作,生产效率高且生产的沉箱吊环质量好;并且结构简单紧凑、方便布置。


