授权公布号:CN216171591U
一种美丽乡村建设的一体式水处理系统
有效
申请
2021-07-06
申请公布
1970-01-01
授权
2022-04-05
预估到期
2031-07-06
| 申请号 | CN202121532260.5 |
| 申请日 | 2021-07-06 |
| 授权公布号 | CN216171591U |
| 授权公告日 | 2022-04-05 |
| 分类号 | B01F27/90;B01F27/2322;B01F27/091;B01F35/00;B01F35/75;B01F33/501;C02F1/52 |
| 分类 | 一般的物理或化学的方法或装置; |
| 申请人名称 | 江苏山水环境建设集团股份有限公司 |
| 申请人地址 | 江苏省镇江市句容市长江路399号 |
专利法律状态
2022-04-05
授权
状态信息
授权
摘要
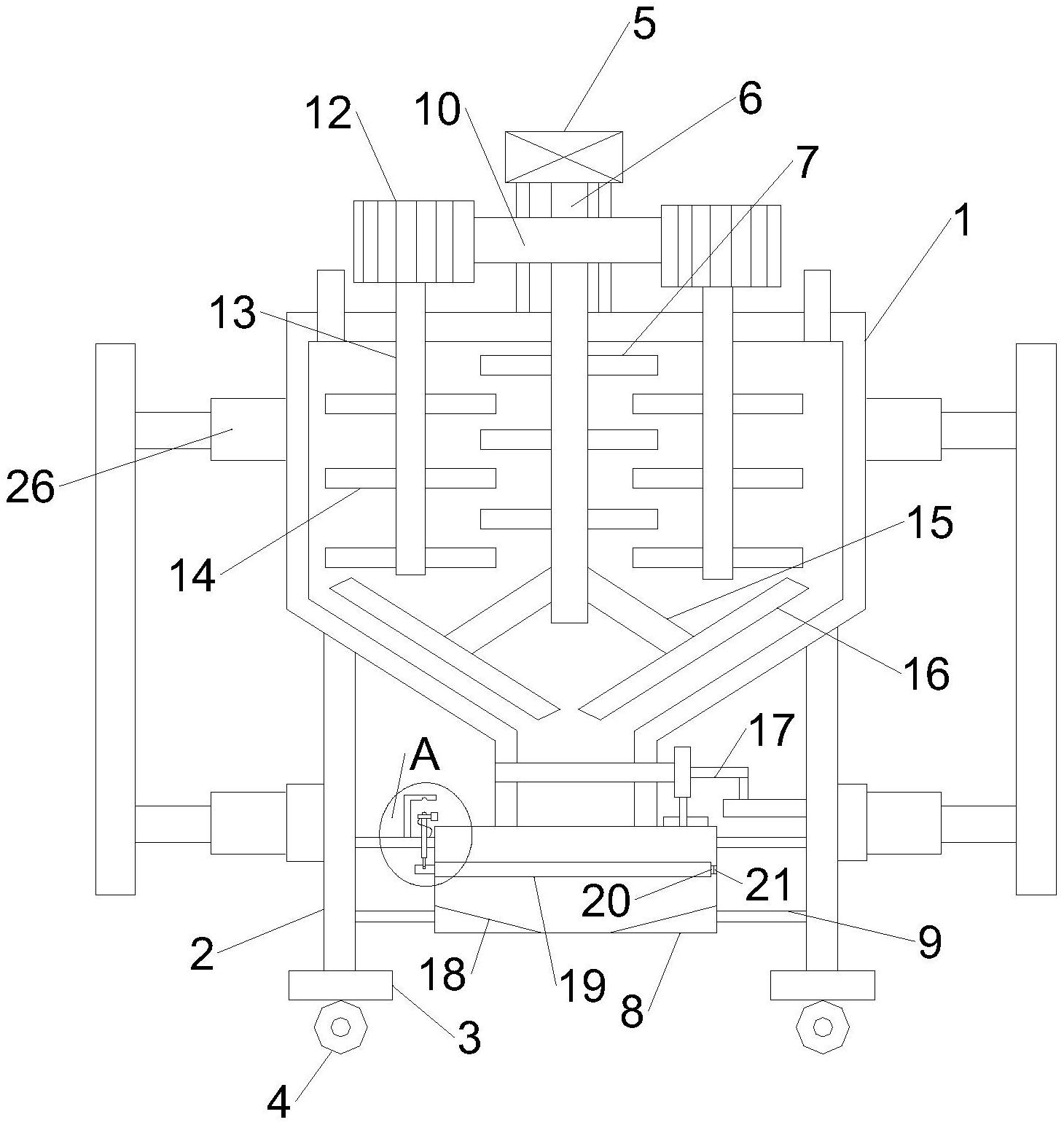
本实用新型公开了一种美丽乡村建设的一体式水处理系统,包括水处理罐,所述水处理罐外底壁对称设有移动竖柱,移动竖柱底端设有移动座,移动座下部设有移动轮;所述水处理罐外顶壁架设有驱动电机。本实用新型污水、污水处理剂一同加入到水处理罐内;启动驱动电机,驱动转轴转动,带动第一叶片转动,同时通过主动齿轮啮合有从动齿轮,从动齿轮转动,带动从动转轴转动,进而第二叶片转动,通过两个第二叶片与第一叶片交替配合,提高了污水处理剂与污水反应程度。


