授权公布号:CN212896726U
一种稳固型市政用防堵管道
有效
申请
2020-07-21
申请公布
1970-01-01
授权
2021-04-06
预估到期
2030-07-21
| 申请号 | CN202021446094.2 |
| 申请日 | 2020-07-21 |
| 授权公布号 | CN212896726U |
| 授权公告日 | 2021-04-06 |
| 分类号 | E03F3/04;B02C18/14;E03F9/00 |
| 分类 | 给水;排水; |
| 申请人名称 | 杭州萧山凌飞环境绿化有限公司 |
| 申请人地址 | 浙江省杭州市萧山区萧山经济技术开发区启迪路198号A-B102-489室 |
专利法律状态
2021-04-06
授权
状态信息
授权
摘要
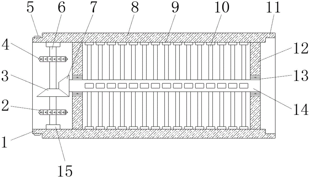
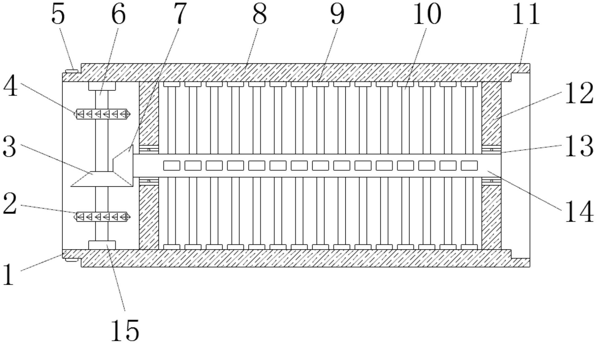
本实用新型涉及管道技术领域,且公开了一种稳固型市政用防堵管道,包括管道本体,所述管道本体的一侧一体成型有插口,另一侧一体成型有承口,所述管道本体的内表面一侧上下对称固定有连接套,两个所述连接套均为相对侧开口的中空圆柱形结构,且两个所述连接套之间设有竖轴,所述竖轴的两端分别位于两个所述连接套的内部;在使用的时候,当污水通过管道本体的时候,水流会圆盘上的传动齿,从而可以带动圆盘转动,进而可以带动竖轴以及其上的第一锥齿轮转动,由于第一锥齿轮和第二锥齿轮啮合连接,因此可以带动横轴以及其上的多个破碎刀转动,在多个破碎刀的作用下可以将附着在管道内壁上的杂物破碎清除。


