授权公布号:CN218233195U
一种高架桥垂直绿化隔音屏
有效
申请
2022-10-17
申请公布
1970-01-01
授权
2023-01-06
预估到期
2032-10-17
| 申请号 | CN202222734145.7 |
| 申请日 | 2022-10-17 |
| 授权公布号 | CN218233195U |
| 授权公告日 | 2023-01-06 |
| 分类号 | E01F8/00;E01F8/02;E01D19/10;A01G9/02;A01G27/00 |
| 分类 | 道路、铁路或桥梁的建筑; |
| 申请人名称 | 杭州萧山凌飞环境绿化有限公司 |
| 申请人地址 | 浙江省杭州市萧山区萧山经济技术开发区启迪路198号A-B102-489室 |
专利法律状态
2023-01-06
授权
状态信息
授权
摘要
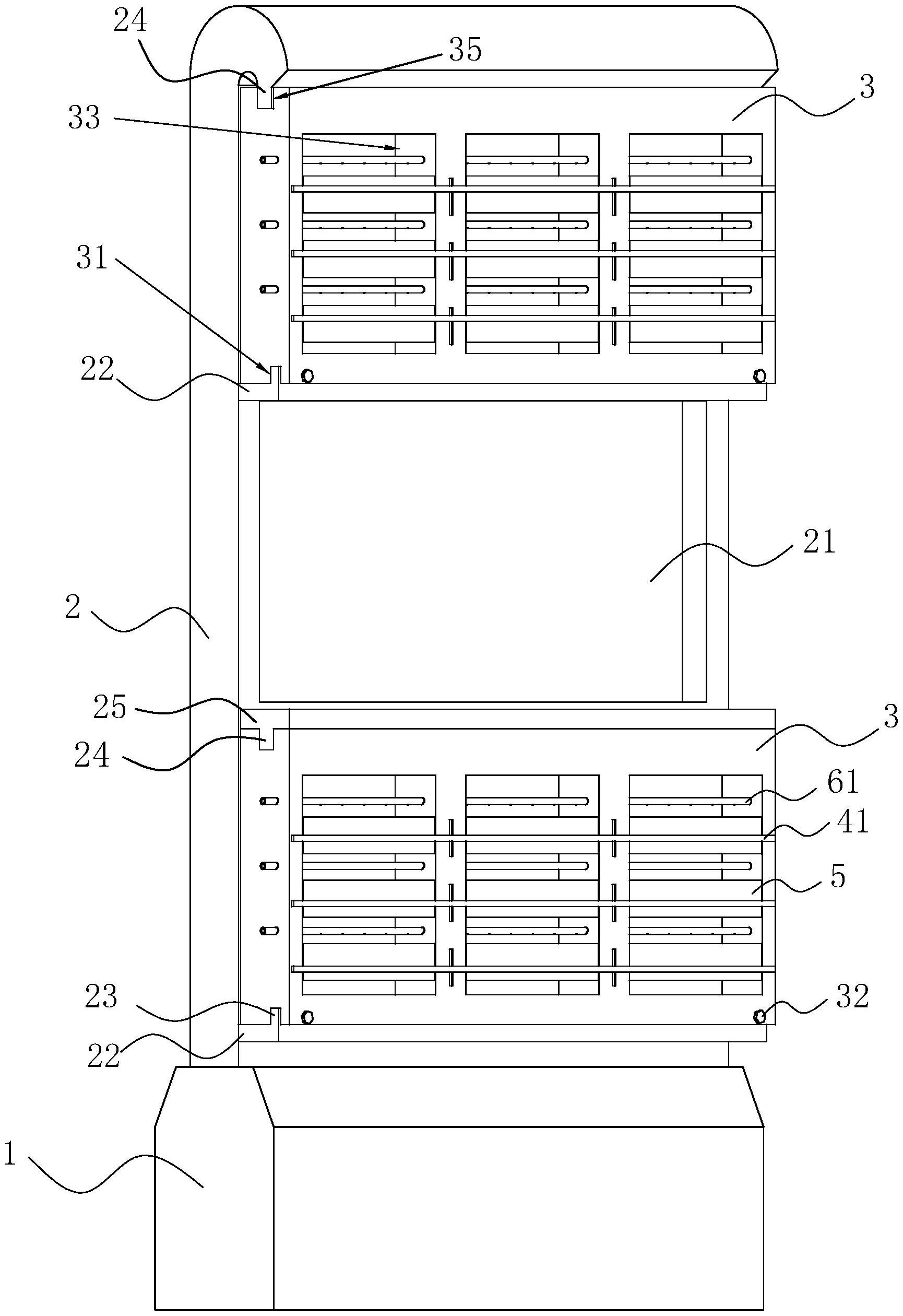
本实用新型涉及一种高架桥垂直绿化隔音屏,属于高架桥绿化技术领域,其包括隔音屏本体,所述隔音屏本体用于与防撞墙固定连接,所述隔音屏本体上可拆卸设置有绿化架,所述绿化架上设置有用于种植植物的种植座。本实用新型具有减少因为隔音屏的出现导致绿化景观被截断的情况发生,提高道路绿化的连续性的效果。


