授权公布号:CN218204156U
一种生态化防漏人工湖
有效
申请
2022-10-17
申请公布
1970-01-01
授权
2023-01-03
预估到期
2032-10-17
| 申请号 | CN202222729897.4 |
| 申请日 | 2022-10-17 |
| 授权公布号 | CN218204156U |
| 授权公告日 | 2023-01-03 |
| 分类号 | E02B3/04;E02B3/12;E02D29/02;E02D29/16;E02D31/02;E03F5/10;C02F3/32 |
| 分类 | 水利工程;基础;疏浚; |
| 申请人名称 | 杭州萧山凌飞环境绿化有限公司 |
| 申请人地址 | 浙江省杭州市萧山区萧山经济技术开发区启迪路198号A-B102-489室 |
专利法律状态
2023-01-03
授权
状态信息
授权
摘要
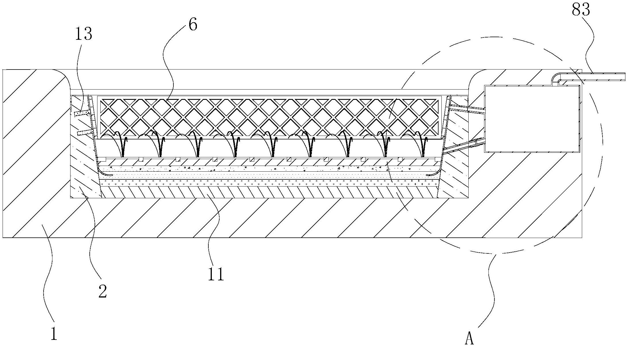
本申请涉及一种生态化防漏人工湖,包括湖体、修砌于湖体侧壁的挡土墙、依次填实于湖体底壁的填土层和粘土层,所述粘土层的上表面铺设有砂石层,所述砂石层的上表面铺设有种植土层,所述种植土层种植有沉水植物。本申请具有提升粘土层对人工湖的防渗效果的效果。


