授权公布号:CN206239732U
取药方便、压旋式锁盖的防污染安全药液瓶
有效
申请
2016-08-29
申请公布
1970-01-01
授权
2017-06-13
预估到期
2026-08-29
| 申请号 | CN201620965872.6 |
| 申请日 | 2016-08-29 |
| 授权公布号 | CN206239732U |
| 授权公告日 | 2017-06-13 |
| 分类号 | A61J1/05;A61J1/14 |
| 分类 | 医学或兽医学;卫生学; |
| 申请人名称 | 新疆特丰药业股份有限公司 |
| 申请人地址 | 新疆维吾尔自治区乌鲁木齐市高新技术产业开发区(新市区)清扬路1036号 |
专利法律状态
2017-06-13
授权
状态信息
授权
摘要
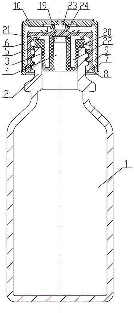
本实用新型涉及药液瓶技术领域,是一种取药方便、压旋式锁盖的防污染安全药液瓶;其包括瓶体、瓶塞和压旋组合瓶盖;在瓶体的上端设有瓶口,在瓶口内塞入有瓶塞,在瓶塞的中部设有取药通孔;在瓶口设有螺纹,通过瓶口螺纹,在瓶口固定安装有压旋组合瓶盖;压旋组合瓶盖包括内盖和外盖。本实用新型结构合理而紧凑,使用方便;压旋组合瓶盖锁紧需要通过下压反旋的方式开启,可避免旋扭误开,携带方便;瓶口内通过瓶塞塞封,使内盖与瓶口之间保持良好的密封,防漏性好;瓶塞中部的取药通孔能够用于给药注射器及给药刻度量杯实现准确定量取药,方便婴幼儿和儿童定量服用液体药物并保证有效的密封,也可有效避免药液污染。


