授权公布号:CN217646286U
一种猪肉丸加工用肉馅搅拌装置
有效
申请
2022-06-06
申请公布
1970-01-01
授权
2022-10-25
预估到期
2032-06-06
| 申请号 | CN202221384054.9 |
| 申请日 | 2022-06-06 |
| 授权公布号 | CN217646286U |
| 授权公告日 | 2022-10-25 |
| 分类号 | B01F29/85;A22C5/00;B01F101/06N |
| 分类 | 一般的物理或化学的方法或装置; |
| 申请人名称 | 北京二商肉类食品集团有限公司 |
| 申请人地址 | 北京市通州区潞城镇食品工业园区武兴北路1号 |
专利法律状态
2022-10-25
授权
状态信息
授权
摘要
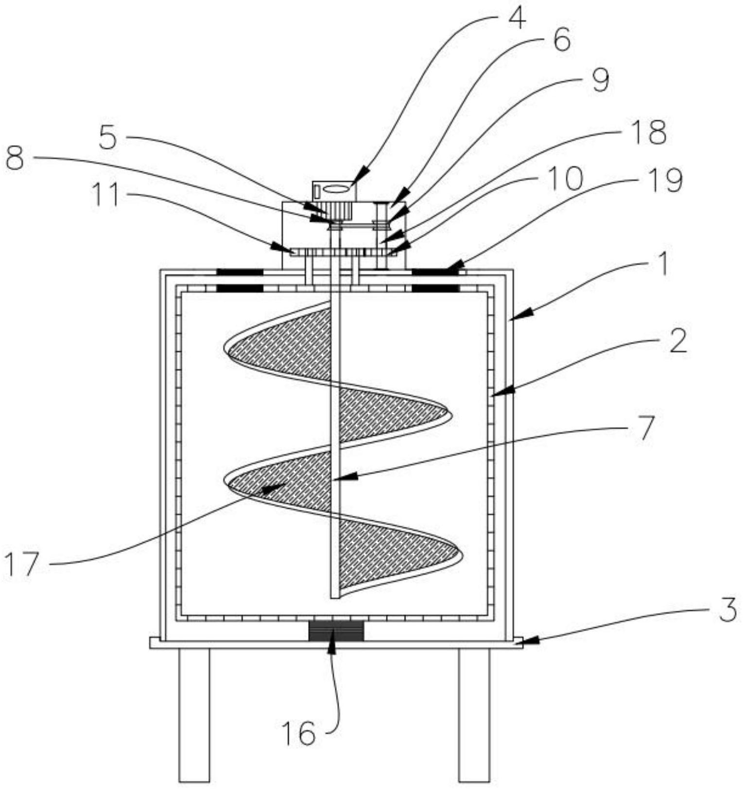
本申请公开一种猪肉丸加工用肉馅搅拌装置,通过在搅拌箱内部设置有搅拌滚筒,将肉馅和佐料投入搅拌滚筒内,通过控制器控制驱动电机工作,从而带动搅拌滚筒和旋转轴转动,旋转轴上安装有搅拌件,搅拌滚筒和旋转轴转动的方向相反,使得肉馅和佐料充分搅拌,且提高了搅拌的效率,解决了现有的肉馅搅拌装置在进行搅拌工作时会存在肉馅与佐料混合不够充分,且无法高效快速的完成搅拌,从而导致制作的肉丸口感不佳的技术问题。


