授权公布号:CN217184627U
一种猪肉表皮毛发去除装置
有效
申请
2022-04-24
申请公布
1970-01-01
授权
2022-08-16
预估到期
2032-04-24
| 申请号 | CN202220958596.6 |
| 申请日 | 2022-04-24 |
| 授权公布号 | CN217184627U |
| 授权公告日 | 2022-08-16 |
| 分类号 | A22B5/08 |
| 分类 | 屠宰;肉品处理;家禽或鱼的加工; |
| 申请人名称 | 北京二商肉类食品集团有限公司 |
| 申请人地址 | 北京市通州区潞城镇食品工业园区武兴北路1号 |
专利法律状态
2022-08-16
授权
状态信息
授权
摘要
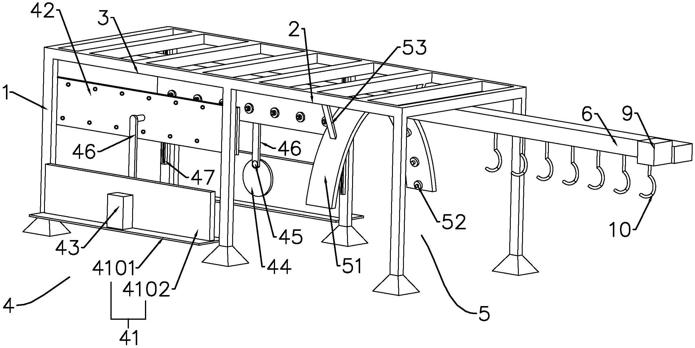
本实用新型涉及猪肉加工技术领域,具体为一种猪肉表皮毛发去除装置,包括由多个竖支架和横支架组成的架体,架体沿长度方向分为水雾喷洒段和毛发去除段,水雾喷洒段处设有水雾喷洒组件,水雾喷洒组件与架体顶部的横支架固定连接,水雾喷洒组件可向架体内放入的猪肉上喷洒水雾,毛发去除段的两侧分别对称的设有毛发去除组件,毛发去除组件可通过火焰去除架体内放入的猪肉上的毛发,架体顶部的横支架上还连接有输送装置,输送装置一端与架体的一端平齐,输送装置的另一端从架体内部穿出。本实用新型可通过输送装置将需要去除毛发的猪肉由架体外部经由水雾喷洒段送入毛发去除段,毛发去除工作通过机械自动完成,提高了工作效率。


