授权公布号:CN211160789U
动态茶叶精选系统
有效
申请
2019-03-28
申请公布
1970-01-01
授权
2020-08-04
预估到期
2029-03-28
| 申请号 | CN201920408565.1 |
| 申请日 | 2019-03-28 |
| 授权公布号 | CN211160789U |
| 授权公告日 | 2020-08-04 |
| 分类号 | B07C7/04 |
| 分类 | 将固体从固体中分离;分选; |
| 申请人名称 | 湖北采花茶业有限公司 |
| 申请人地址 | 湖北省宜昌市五峰土家族自治县渔洋关镇幸福大道采花茶业科技园 |
专利法律状态
2020-09-08
著录事项变更
状态信息
著录事项变更 IPC(主分类):B07C7/04 变更前发明人:肖静州 变更后发明人:肖静洲
2020-08-04
授权
状态信息
授权
摘要
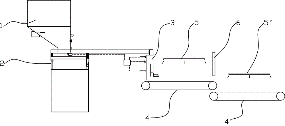
本实用新型提供一种动态茶叶精选系统,它包括多个人工分选台,在人工分选台上方设有往复转动的分选皮带;分选皮带的表面为光滑的哑光材质;在各个人工分选台的上方设有不同颜色的光源。优选的方案中,所述的多个人工分选台按照上游高下游低的方式首尾连接。通过采用带有分选皮带的人工分选台,能够使富有丰富分选经验的熟练操作人员将注意力集中在分选工作中,以最小的动作最少的操作实现茶叶的分选,从而大幅提高分选效率。在最优化的方案中,本实用新型能够将日分选工作量提高到300%。


