授权公布号:CN215269452U
一种用于茶苗种植的辅助固定结构
有效
申请
2021-07-15
申请公布
1970-01-01
授权
2021-12-24
预估到期
2031-07-15
| 申请号 | CN202121612206.1 |
| 申请日 | 2021-07-15 |
| 授权公布号 | CN215269452U |
| 授权公告日 | 2021-12-24 |
| 分类号 | A01C11/02 |
| 分类 | 农业;林业;畜牧业;狩猎;诱捕;捕鱼; |
| 申请人名称 | 江西省宁红集团有限公司 |
| 申请人地址 | 江西省九江市修水县城南秀水大道下路源路口 |
专利法律状态
2021-12-24
授权
状态信息
授权
摘要
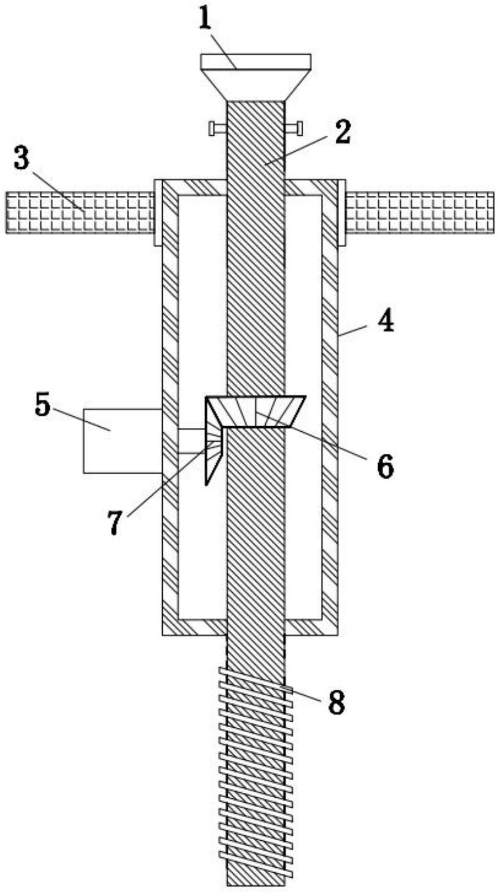
本实用新型公开了一种用于茶苗种植的辅助固定结构,包括旋转筒、壳体、固定板和加强层,壳体的内部设置有旋转筒,且旋转筒的顶端延伸至壳体的外部,壳体两侧的顶端均设置有手柄,旋转筒的顶端设置有投苗口,且旋转筒侧壁的内部设置有加强层,加强层两侧的旋转筒内均设置有抗压层,旋转筒顶部的两侧均穿过有操作杆,且操作杆的一端均设置有固定板。本实用新型通过安装有壳体、手柄、旋转筒、投苗口、微型电机、第一齿轮、第二齿轮以及螺纹齿,使得在种植茶苗时将旋转筒底部与土层接触,同时手持手柄处并向下压,利用底部的螺纹齿进行钻孔,无需额外使用打孔设备,方便快捷。


