授权公布号:CN220032859U
一种鼓风加热式料仓
有效
申请
2023-05-11
申请公布
1970-01-01
授权
2023-11-17
预估到期
2033-05-11
| 申请号 | CN202321127718.8 |
| 申请日 | 2023-05-11 |
| 授权公布号 | CN220032859U |
| 授权公告日 | 2023-11-17 |
| 分类号 | B65D88/74;B65D88/54 |
| 分类 | 输送;包装;贮存;搬运薄的或细丝状材料; |
| 申请人名称 | 辽阳百乐保健品有限公司 |
| 申请人地址 | 辽宁省辽阳市辽阳县首山镇辽鞍路160-1号 |
专利法律状态
2023-11-17
授权
状态信息
授权
摘要
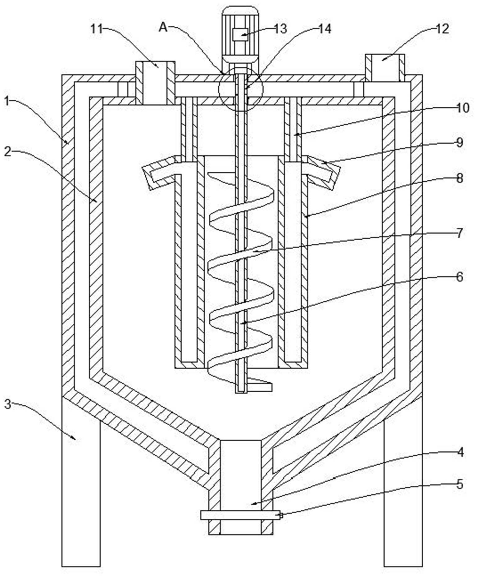
本实用新型公开了一种鼓风加热式料仓,其涉及硅橡胶生产设备技术领域,包括壳体,所述壳体包括内壳体和外壳体,所述内壳体固定设置在外壳体的内部,所述外壳体的底部设置有多个支撑腿,所述内壳体和外壳体底部的中心位置连通设置有出料管,所述出料管上设置有封堵组件,所述内壳体和外壳体的顶部连通设置有进料管,所述外壳体顶部的中心位置设置有驱动电机;本实用新型通过外置热风机构向内壳体与外壳体之间的间隙、第一连接管、多个第二连接管、筒体和螺旋叶片内输送热风来进行加热,螺旋叶片带动原料翻动使干燥得更加充分彻底,无需其他干燥设备进行处理节省了生产工序。


