授权公布号:CN213321044U
一种橡胶生产用原料混合机
有效
申请
2020-06-09
申请公布
1970-01-01
授权
2021-06-01
预估到期
2030-06-09
| 申请号 | CN202021051041.0 |
| 申请日 | 2020-06-09 |
| 授权公布号 | CN213321044U |
| 授权公告日 | 2021-06-01 |
| 分类号 | B02C18/12;B29B7/16;B29B7/82;B29B7/22 |
| 分类 | 塑料的加工;一般处于塑性状态物质的加工; |
| 申请人名称 | 辽阳百乐保健品有限公司 |
| 申请人地址 | 辽宁省辽阳市辽阳县首山镇辽鞍路160-1号 |
专利法律状态
2021-06-01
授权
状态信息
授权
摘要
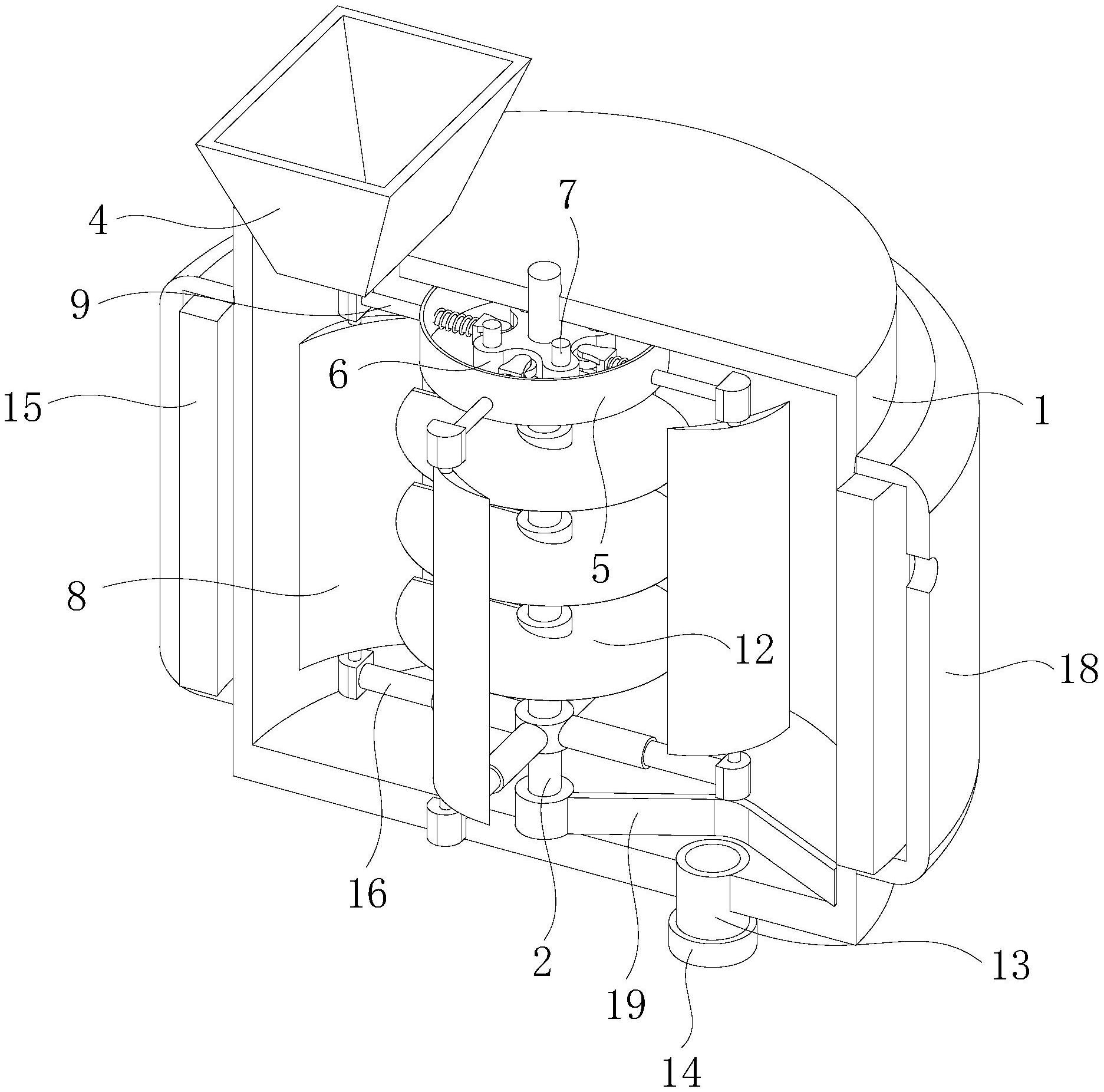
本实用新型提供一种橡胶生产用原料混合机,涉及橡胶生产原料技术领域。该橡胶生产用原料混合机,包括混合桶,所述混合桶的内部为中空结构,混合桶的内部设置有转轴,转轴的上端转动贯穿混合桶的内顶壁,混合桶的上表面固定连接有电动机,电动机的输出端与转轴位于混合桶上方的一端固定连接,混合桶的上表面位于电动机的左侧固定连接有与内部连通的入料斗,混合桶的内部设置有安装盘。该橡胶生产用原料混合机,通过设置挤压弹簧、导向板、传动杆和搅拌板,达到了可以对不同范围内原料进行搅拌混合的效果,解决了现今的原料混合机只能对固定范围进行搅拌,从而使搅拌效果较差,从而造成原料混合不均匀的问题。


