授权公布号:CN110280332B
基于高分子材料试验的多模块研磨装置
有效
申请
2019-07-03
申请公布
2019-09-27
授权
2021-07-16
预估到期
2039-07-03
| 申请号 | CN201910596469.9 |
| 申请日 | 2019-07-03 |
| 申请公布号 | CN110280332A |
| 申请公布日 | 2019-09-27 |
| 授权公布号 | CN110280332B |
| 授权公告日 | 2021-07-16 |
| 分类号 | B02C1/14 |
| 分类 | 破碎、磨粉或粉碎;谷物碾磨的预处理; |
| 申请人名称 | 辽阳百乐保健品有限公司 |
| 申请人地址 | 辽宁省辽阳市辽阳县首山镇辽鞍路160-1号 |
专利法律状态
2021-07-16
授权
状态信息
授权
2021-07-06
专利申请权、专利权的转移
状态信息
专利申请权的转移;IPC(主分类):B02C1/14;专利申请号:2019105964699;登记生效日:20210624;变更事项:申请人;变更前权利人:陈丹虹;变更后权利人:辽阳百乐保健品有限公司;变更事项:地址;变更前权利人:317500 浙江省台州市温岭市东门南路181号;变更后权利人:111299 辽宁省辽阳市辽阳县首山镇辽鞍路160-1号
2019-10-29
实质审查的生效
状态信息
实质审查的生效;IPC(主分类):B02C1/14;专利申请号:2019105964699;申请日:20190703
2019-09-27
发明专利申请公布
状态信息
公布
摘要
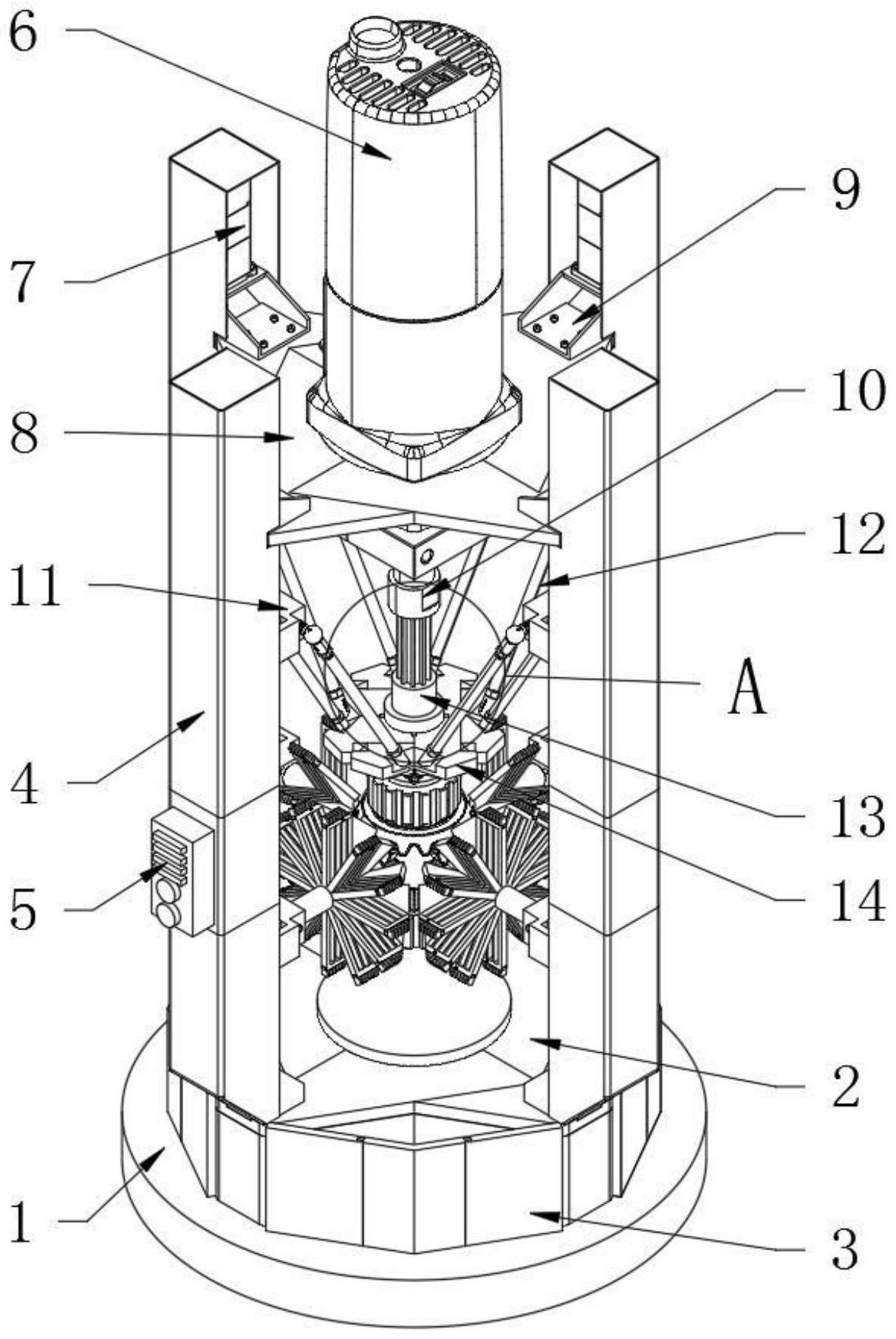
本发明提供了一种基于高分子材料试验的多模块研磨装置,包括底座、内固定板和轴承杆;所述底座为圆盘状结构,其底座的顶部平面中部固定安装有磨台;所述磨台的顶部平面边沿垂直向上固定安装有立柱。本发明提供了一种基于高分子材料试验的多模块研磨装置,其套块中内扣块和螺杆的设置,通过套块内侧壁中设置有内扣块与滑轨相扣合,从而使得套块可在立柱中通过滑轨进行移动,此外,由于内扣块的存在可避免套块的磨损,其螺杆的下端通过轴承转动连接在内固定板内侧壁的翅台上,且螺杆通过轴承环与套块相连接,通过螺杆的旋转可使得套块在立柱上下移动,从而达到调整装置上下位置的目的,使得加料和取料更加安全快捷。


