授权公布号:CN110925174B
一种隔膜泵柱塞腔排液装置
有效
申请
2019-11-28
申请公布
2020-03-27
授权
2022-06-24
预估到期
2039-11-28
| 申请号 | CN201911192191.5 |
| 申请日 | 2019-11-28 |
| 申请公布号 | CN110925174A |
| 申请公布日 | 2020-03-27 |
| 授权公布号 | CN110925174B |
| 授权公告日 | 2022-06-24 |
| 分类号 | F04B43/02;F04B53/04;F04B53/06;F04B53/10 |
| 分类 | 液体变容式机械;液体泵或弹性流体泵; |
| 申请人名称 | 陕西航天动力高科技股份有限公司 |
| 申请人地址 | 陕西省西安市航天基地航天西路南段67号 |
专利法律状态
2023-08-29
专利申请权、专利权的转移
状态信息
专利权的转移;IPC(主分类):F04B 43/02;专利号:ZL2019111921915;登记生效日:20230814;变更事项:专利权人;变更前权利人:陕西航天动力高科技股份有限公司;变更后权利人:航天推进技术研究院;变更事项:地址;变更前权利人:710077 陕西省西安市高新区锦业路78号;变更后权利人:710199 陕西省西安市航天基地航天西路南段67号;变更事项:专利权人;变更前权利人:;变更后权利人:陕西航天动力高科技股份有限公司
2022-06-24
授权
状态信息
授权
2020-04-21
实质审查的生效
状态信息
实质审查的生效;IPC(主分类):F04B43/02;申请日:20191128
2020-03-27
公布
状态信息
公布
摘要
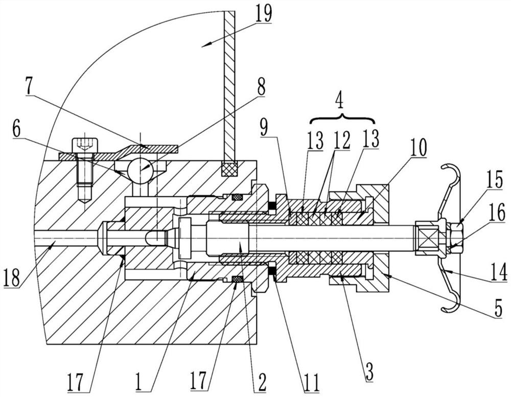
本发明涉及一种隔膜泵柱塞腔排液装置,主要解决现有隔膜泵柱塞腔的排液方式导致隔膜泵工作性能下降、可靠性下降的问题。该排液装置包括手动排液阀和单向过流装置;手动排液阀包括阀座、阀芯、阀套、密封装置和锁紧螺母;阀座设置在隔膜泵集成块阀体内,其内部设置有过流腔体;阀芯的一端设置在过流腔体的进口内,用于阻断过流介质,另一端穿过阀套,阀套的前端与阀芯螺纹连接,密封装置套装在阀芯上,锁紧螺母与阀套固定连接;单向过流装置包括单向过流通道、挡板和阀球,单向过流通道为锥形腔体,其设置在隔膜泵集成块阀体上,且与手动排液阀的过流腔体连通,阀球设置在锥形腔体内,挡板设置在在隔膜泵集成块阀体上。


