授权公布号:CN213314898U
一种化工反应釜用密封机构
有效
申请
2020-09-06
申请公布
1970-01-01
授权
2021-06-01
预估到期
2030-09-06
| 申请号 | CN202021919342.0 |
| 申请日 | 2020-09-06 |
| 授权公布号 | CN213314898U |
| 授权公告日 | 2021-06-01 |
| 分类号 | B01J19/00 |
| 分类 | 一般的物理或化学的方法或装置; |
| 申请人名称 | 西安汉港新材料科技有限公司 |
| 申请人地址 | 陕西省西安市未央区汉城街道扬善路6号 |
专利法律状态
2021-06-01
授权
状态信息
授权
摘要
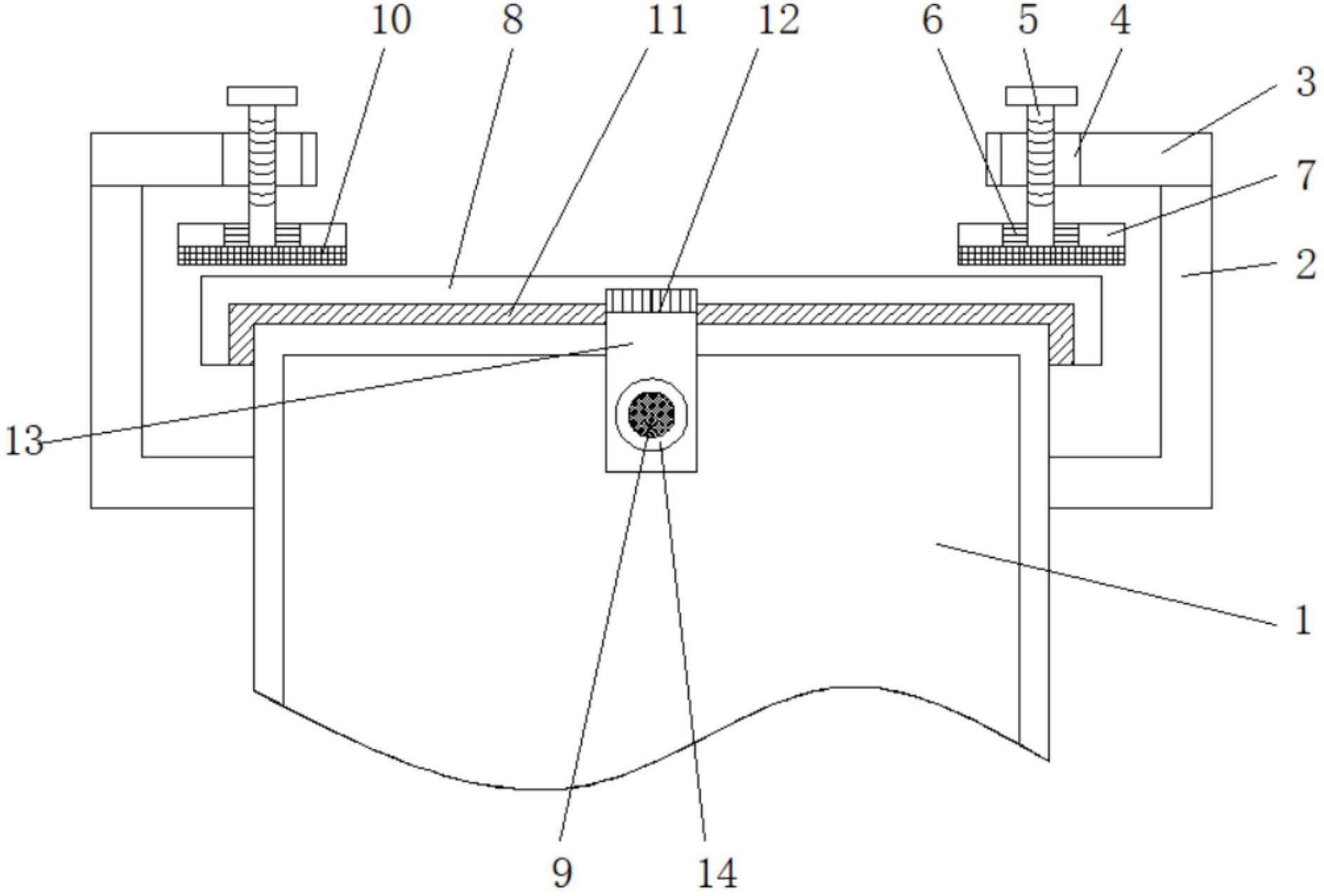
本实用新型适用于化工反应釜用辅助技术领域,公开了一种化工反应釜用密封机构,包括釜体,所述釜体顶部活动安装有釜盖,所述釜体顶端左右两侧表面均横向固定安装有连接杆,所述连接杆顶端表面横向固定安装有固定杆,所述固定杆顶部竖向开设有转动螺孔,所述转动螺孔内部通过螺纹拧接有转动螺栓。本实用新型由于在釜体顶部两侧安装有连接杆以及固定杆,并且将转动螺栓安装在固定杆内部开设的的转动螺孔内部,可以通过旋转转动螺栓带动其底部的推动板进行高度改变,直至推动板表面紧贴在釜盖表面带动釜盖移动放置在釜体顶部,对釜体进行密封处理,较为实用,适合广泛推广与使用。


