授权公布号:CN111358120B
一种鞋面自动切割机
有效
申请
2020-04-02
申请公布
2020-07-03
授权
2021-05-25
预估到期
2040-04-02
| 申请号 | CN202010256122.2 |
| 申请日 | 2020-04-02 |
| 申请公布号 | CN111358120A |
| 申请公布日 | 2020-07-03 |
| 授权公布号 | CN111358120B |
| 授权公告日 | 2021-05-25 |
| 分类号 | A43D8/02;A43D117/00 |
| 分类 | 鞋类; |
| 申请人名称 | 杭州阿福儿童用品有限公司 |
| 申请人地址 | 浙江省杭州市萧山区浦阳镇建浦路3号 |
专利法律状态
2021-05-25
授权
状态信息
授权
2020-07-28
实质审查的生效
状态信息
实质审查的生效;IPC(主分类):A43D8/02;申请日:20200402
2020-07-03
公布
状态信息
公布
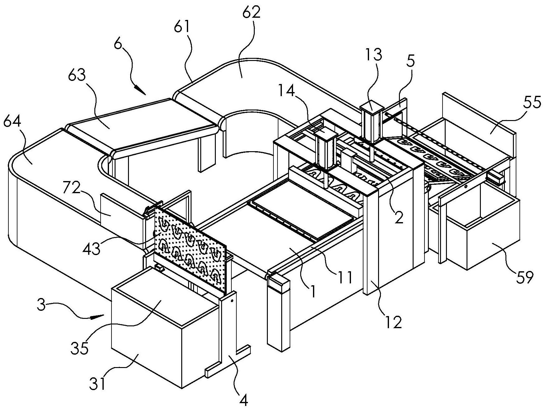
摘要
本发明涉及一种鞋面自动切割机,其包括第一传送带、切割装置和放置架,还包括升降件、网板、转动架和带动组件,放置架上设有开口,转动架上设有压紧组件,面料包括废料区和若干鞋面区,网板上设有粘贴层;第一传送带的输出端处设有倾斜板,倾斜板的低端处设有第一挡板,倾斜板的表面设有若干通孔,倾斜板的下方设有喷气组件,倾斜板远离于第一传送带的一侧设有收集箱。本切割机实现了面料的自动上料、自动定位、自动备料、自动下料和自动分拣,故提高了鞋面的加工效率,降低了工人的劳动强度。本发明提高了鞋面的切割精度和加工效率。


