授权公布号:CN208967349U
一种磁吸式支架
失效
申请
2018-10-12
申请公布
1970-01-01
授权
2019-06-11
预估到期
2028-10-12
| 申请号 | CN201821662476.1 |
| 申请日 | 2018-10-12 |
| 授权公布号 | CN208967349U |
| 授权公告日 | 2019-06-11 |
| 分类号 | F16M11/04;F16M11/14;H04N7/18 |
| 分类 | 工程元件或部件;为产生和保持机器或设备的有效运行的一般措施;一般绝热; |
| 申请人名称 | 天彩电子(深圳)有限公司 |
| 申请人地址 | 广东省深圳市宝安区航城街道黄田社区金碧工业区第一栋、第二栋、第五栋、第六栋 |
专利法律状态
2023-10-27
专利权的终止
状态信息
未缴年费专利权终止;IPC(主分类):F16M 11/04;专利号:ZL2018216624761;申请日:20181012;授权公告日:20190611;终止日期:
2019-06-11
授权
状态信息
授权
摘要
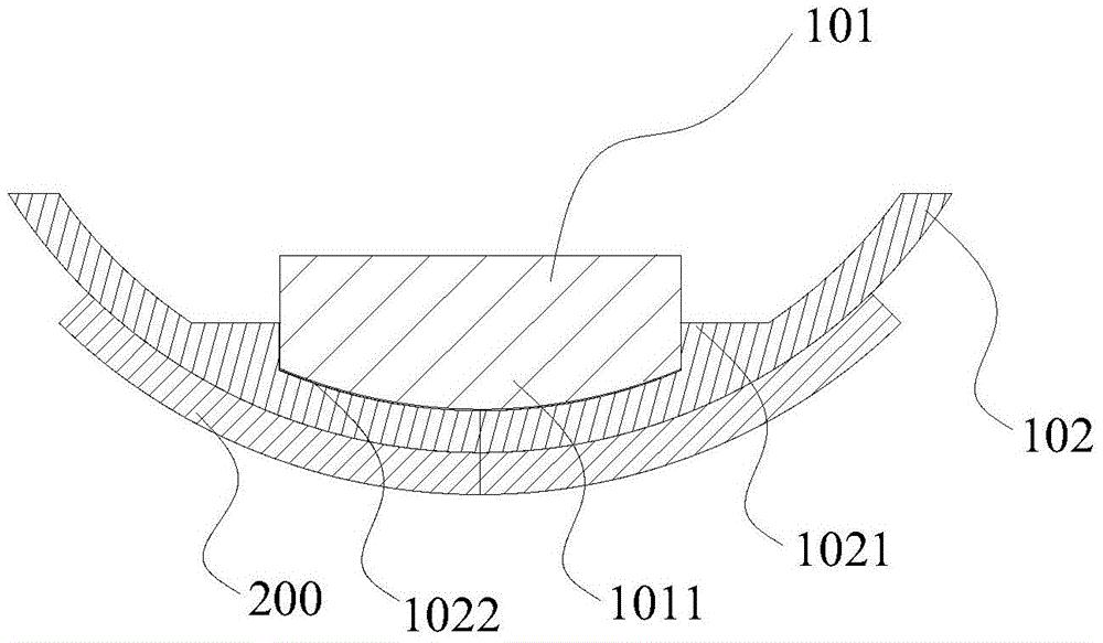
本实用新型公开了一种磁吸式支架,其包括有一安装件及一磁铁,所述磁铁为圆形磁铁,该圆形磁铁的底面向外凸起形成有一第一凸起部,所述安装件呈碗状,且其底部向外凸起使得该安装件内部形成有一第一凹槽,所述磁铁安装于所述安装件内部,且所述第一凸起部设于所述第一凹槽内。与现有技术相比,本实用新型可通过设于所述安装件内的磁铁将摄像头固定于该磁吸式支架的安装件上,且使得该支架可360°万向磁吸摄像头,且因圆形磁铁的底面是弧形的,其底面贴合于所述安装件内表面底部,增大了磁铁与安装件的接触面积,同时减小了磁铁与摄像头的距离,从而大幅提高了磁力,使得摄像头安装更为稳固。


